Официальное опубликование правовых актов
ОФИЦИАЛЬНОЕ ОПУБЛИКОВАНИЕ
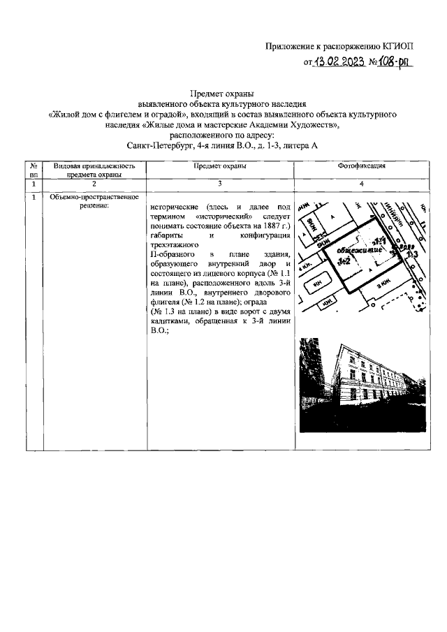
Распоряжение Комитета по государственному контролю, использованию и охране памятников истории и культуры Санкт-Петербурга от 13.02.2023 № 108-рп
"Об утверждении предмета охраны выявленного объекта культурного наследия "Жилой дом с флигелем и оградой", входящего в состав выявленного объекта культурного наследия "Жилые дома и мастерские Академии художеств"
(Зарегистрирован 16.02.2023 № 34307)
Номер опубликования: 7801202302170002
Дата опубликования: 17.02.2023
Страница №2 из 12:
Увеличить