Официальное опубликование правовых актов
ОФИЦИАЛЬНОЕ ОПУБЛИКОВАНИЕ
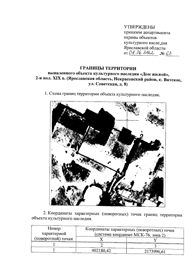
Приказ Департамента охраны объектов культурного наследия Ярославской области от 08.06.2022 № 63
"Об утверждении границ территорий выявленных объектов культурного наследия"
(Зарегистрирован 10.06.2022 № 36-12561)
Номер опубликования: 7601202206140001
Дата опубликования: 14.06.2022
Страница №19 из 27:
Увеличить