Официальное опубликование правовых актов
ОФИЦИАЛЬНОЕ ОПУБЛИКОВАНИЕ
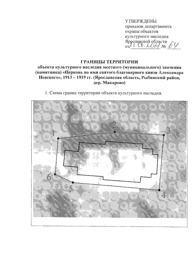
Приказ Департамента охраны объектов культурного наследия Ярославской области от 25.06.2021 № 64
"О включении выявленного объекта культурного наследия в единый государственный реестр объектов культурного наследия (памятников истории и культуры) народов Российской Федерации"
(Зарегистрирован 28.06.2021 № 36-11459)
Номер опубликования: 7601202107010002
Дата опубликования: 01.07.2021
Страница №3 из 8:
Увеличить