Официальное опубликование правовых актов
ОФИЦИАЛЬНОЕ ОПУБЛИКОВАНИЕ
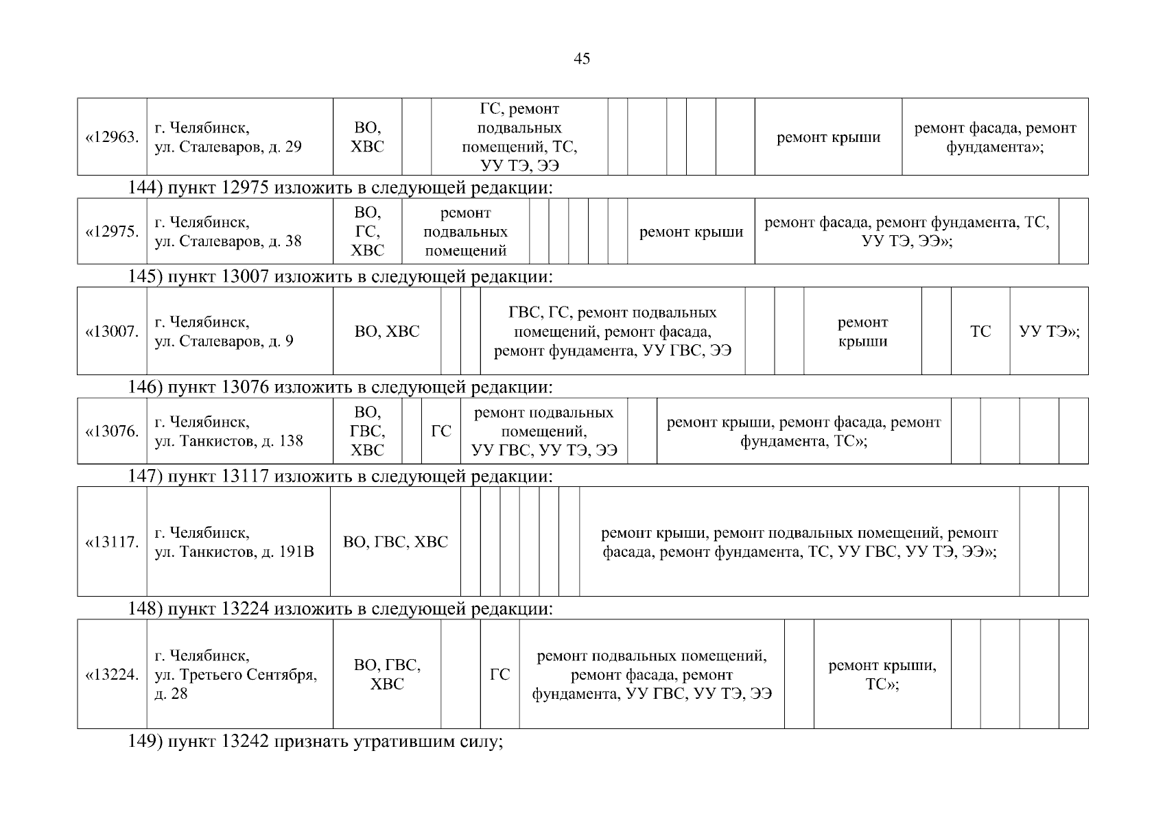
Постановление Правительства Челябинской области от 24.04.2025 № 364-П
"О внесении изменений в постановление Правительства Челябинской области от 21.05.2014 г. № 196-П"
Номер опубликования: 7400202504250018
Дата опубликования: 25.04.2025
Страница №47 из 72:
Увеличить