Официальное опубликование правовых актов
ОФИЦИАЛЬНОЕ ОПУБЛИКОВАНИЕ
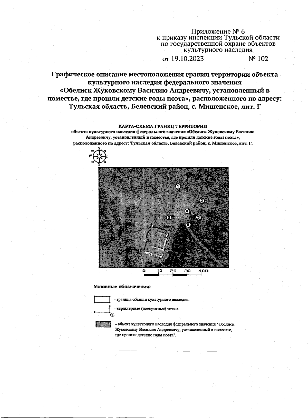
Приказ Инспекции Тульской области по государственной охране объектов культурного наследия от 19.10.2023 № 102
"Об утверждении границ территорий отдельных объектов культурного наследия, расположенных на территории Тульской области"
(Зарегистрирован 19.10.2023 № 102)
Номер опубликования: 7101202310200002
Дата опубликования: 20.10.2023
Страница №14 из 88:
Увеличить