Официальное опубликование правовых актов
ОФИЦИАЛЬНОЕ ОПУБЛИКОВАНИЕ
Приказ Инспекции Тульской области по государственной охране объектов культурного наследия от 24.01.2023 № 8
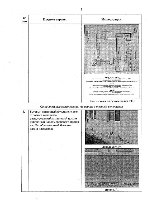
"Об утверждении предмета охраны объекта культурного наследия регионального значения "Комплекс построек самоварн. фабрики и жил. дома Н.И. Батошева", XIX в., расположенного по адресу: Тульская область, г. Тула, Советский район, ул. Лейтейзена, д.12 лит. Р, Р1, Р2, Р3, Р4"
(Зарегистрирован 24.01.2023 № 8)
Номер опубликования: 7101202301270008
Дата опубликования: 27.01.2023
Страница №7 из 14:
Увеличить