Официальное опубликование правовых актов
ОФИЦИАЛЬНОЕ ОПУБЛИКОВАНИЕ
Приказ Инспекции Тульской области по государственной охране объектов культурного наследия от 12.09.2022 № 97
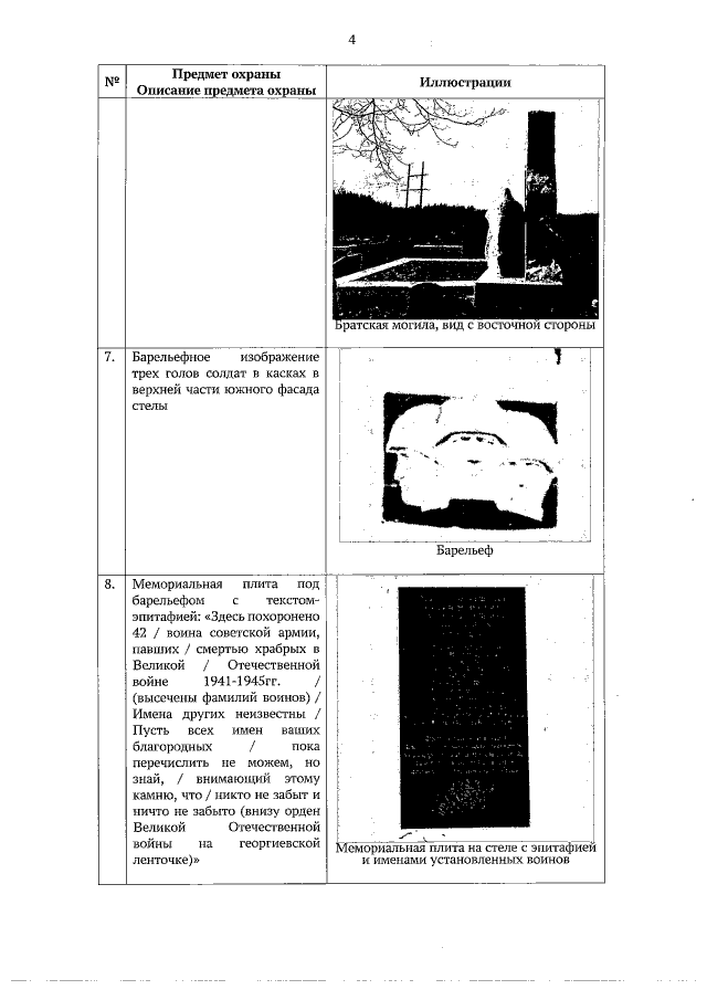
"Об утверждении предмета охраны объекта культурного наследия регионального значения "Братская могила № 3 с захоронением воинов, погибших в период Великой Отечественной войны 1941-1945 гг.", 1941-1945 гг., Тульская область, Ясногорский район, д. Желыбино"
Номер опубликования: 7101202209130002
Дата опубликования: 13.09.2022
Страница №7 из 8:
Увеличить