Официальное опубликование правовых актов
ОФИЦИАЛЬНОЕ ОПУБЛИКОВАНИЕ
Приказ Инспекции Тульской области по государственной охране объектов культурного наследия от 22.07.2022 № 81
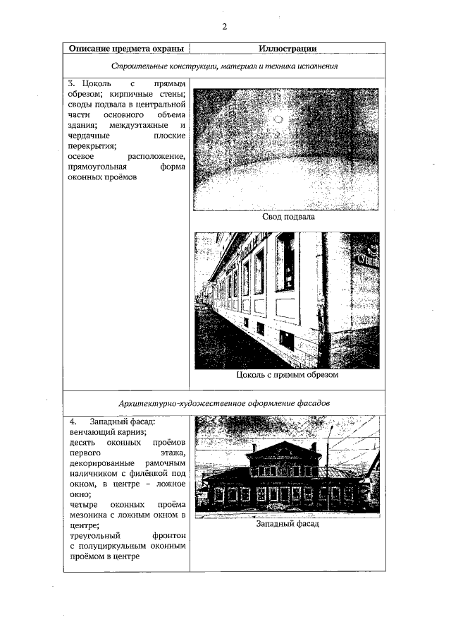
"Об утверждении предмета охраны объекта культурного наследия регионального значения "Жилой дом Ф. Яковлева" XVIII в., Тульская область, г. Тула, ул. Октябрьская, д. 35 лит А"
Номер опубликования: 7101202207220003
Дата опубликования: 22.07.2022
Страница №4 из 5:
Увеличить