Приказ Главного управления региональной безопасности Тверской области от 29.05.2023 № 2-нп
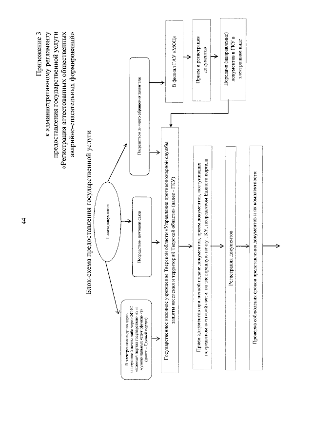
"Об административном регламенте предоставления государственной услуги "Регистрация аттестованных общественных аварийно-спасательных формирований"
"Об административном регламенте предоставления государственной услуги "Регистрация аттестованных общественных аварийно-спасательных формирований"
Номер опубликования: 6901202306010001
Дата опубликования:
01.06.2023
