Официальное опубликование правовых актов
ОФИЦИАЛЬНОЕ ОПУБЛИКОВАНИЕ
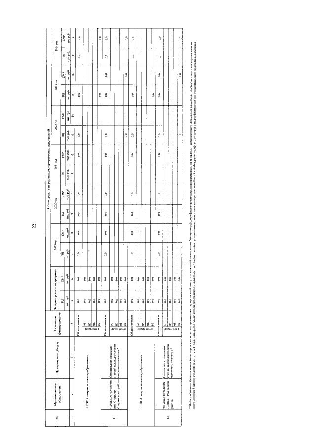
Постановление Правительства Тверской области от 30.07.2019 № 296-пп
"Об утверждении региональной программы Тверской области "Повышение качества питьевой воды из систем централизованного водоснабжения Тверской области" на 2019 – 2024 годы"
Номер опубликования: 6900201907310001
Дата опубликования: 31.07.2019
Страница №22 из 32:
Увеличить