Официальное опубликование правовых актов
ОФИЦИАЛЬНОЕ ОПУБЛИКОВАНИЕ
Приказ Государственной инспекции по охране объектов культурного наследия Сахалинской области от 31.01.2023 № 3.42-6
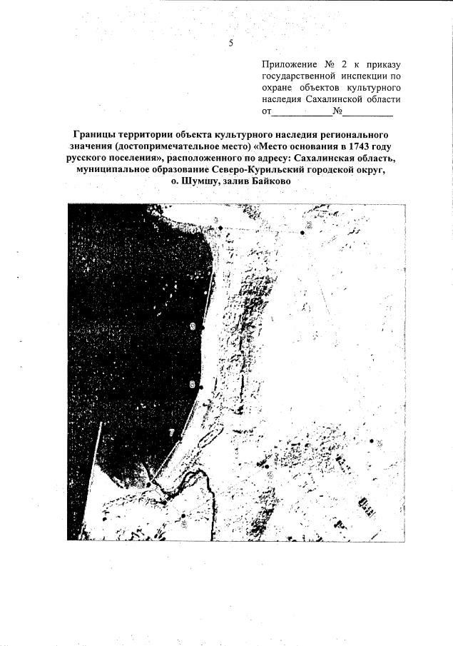
"Об утверждении предмета охраны, границ и требований к осуществляемой деятельности и градостроительным регламентам в границах объекта культурного наследия регионального значения (достопримечательное место) "Место основания в 1743 году русского поселения", расположенного по адресу: Сахалинская область, муниципальное образование Северо-Курильский городской округ, о. Шумшу, залив Байково"
Номер опубликования: 6501202302070008
Дата опубликования: 07.02.2023
Страница №5 из 10:
Увеличить