Официальное опубликование правовых актов
ОФИЦИАЛЬНОЕ ОПУБЛИКОВАНИЕ
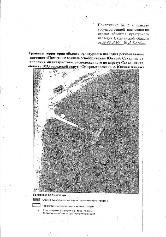
Приказ Государственной инспекции по охране объектов культурного наследия Сахалинской области от 23.03.2021 № 3.42-32
"Об утверждении предмета охраны, границ и режимов использования территории объекта культурного наследия регионального значения "Памятник воинам-освободителям Южного Сахалина от японских милитаристов", расположенного по адресу: Сахалинская область, МО городской округ "Смирныховский", с. Южная Хандаса"
Номер опубликования: 6501202103260010
Дата опубликования: 26.03.2021
Страница №5 из 8:
Увеличить