Приказ Государственной инспекции по охране объектов культурного наследия Сахалинской области от 23.03.2021 № 3.42-33
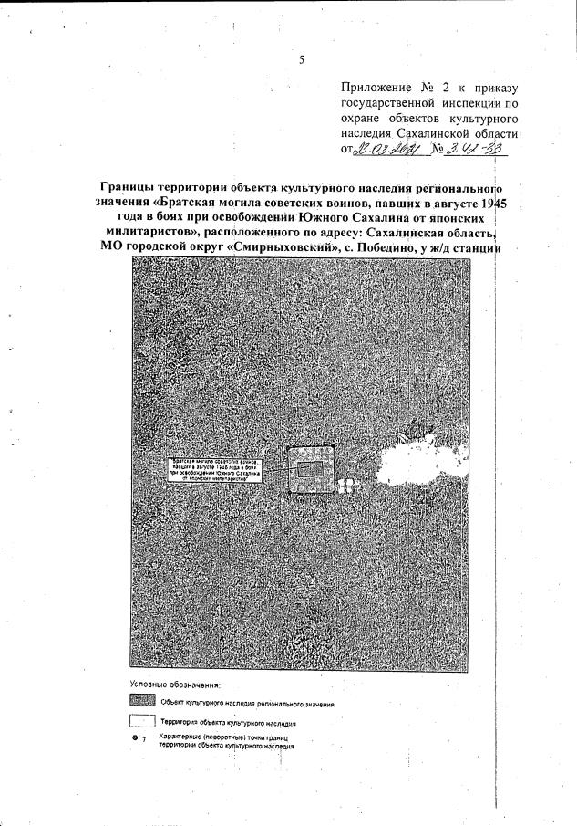
"Об установлении зон охраны, утверждении предмета охраны, границ и режимов использования земель в границах объекта культурного наследия регионального значения "Братская могила советских воинов, павших в августе 1945 года в боях при освобождении Южного Сахалина от японских милитаристов", расположенного по адресу: Сахалинская область, МО городской округ "Смирныховский", с. Победино, у ж/д станции"
"Об установлении зон охраны, утверждении предмета охраны, границ и режимов использования земель в границах объекта культурного наследия регионального значения "Братская могила советских воинов, павших в августе 1945 года в боях при освобождении Южного Сахалина от японских милитаристов", расположенного по адресу: Сахалинская область, МО городской округ "Смирныховский", с. Победино, у ж/д станции"
Номер опубликования: 6501202103260008
Дата опубликования:
26.03.2021
