Официальное опубликование правовых актов
ОФИЦИАЛЬНОЕ ОПУБЛИКОВАНИЕ
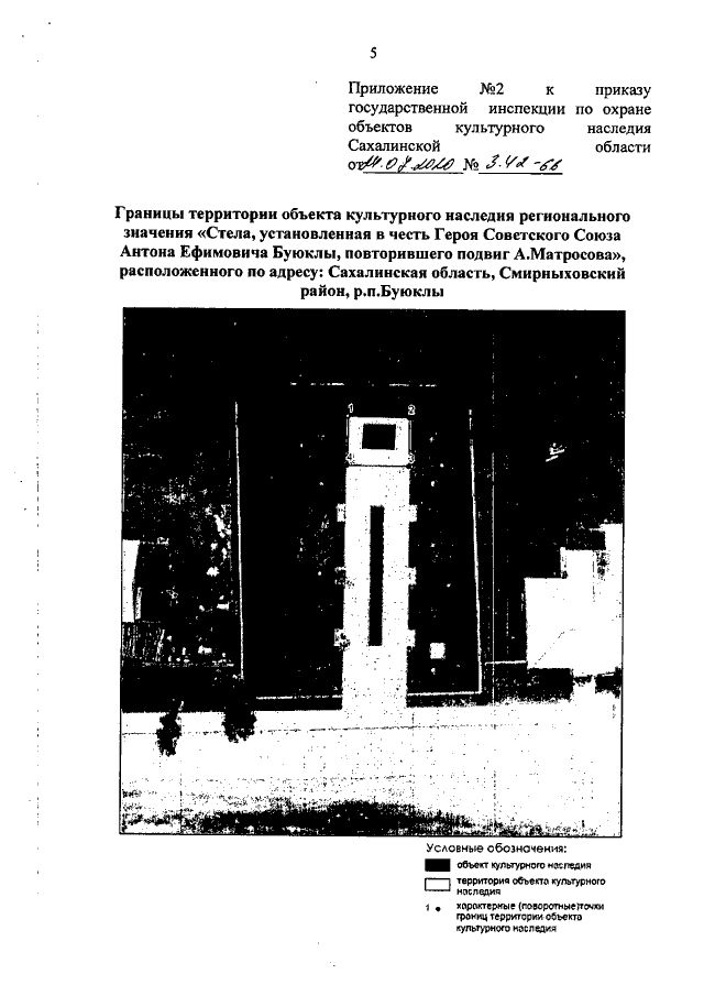
Приказ Государственной инспекции по охране объектов культурного наследия Сахалинской области от 24.07.2020 № 3.42-66
"Об установлении зон охраны, утверждении предмета охраны, границ и режимов использования земель в границах объекта культурного наследия регионального значения "Стела, установленная в честь Героя Советского Союза Антона Ефимовича Буюклы, повторившего подвиг А.Матросова", расположенного по адресу: Сахалинская область, Смирныховский район, р.п. Буюклы"
Номер опубликования: 6501202007310006
Дата опубликования: 31.07.2020
Страница №5 из 11:
Увеличить