Официальное опубликование правовых актов
ОФИЦИАЛЬНОЕ ОПУБЛИКОВАНИЕ
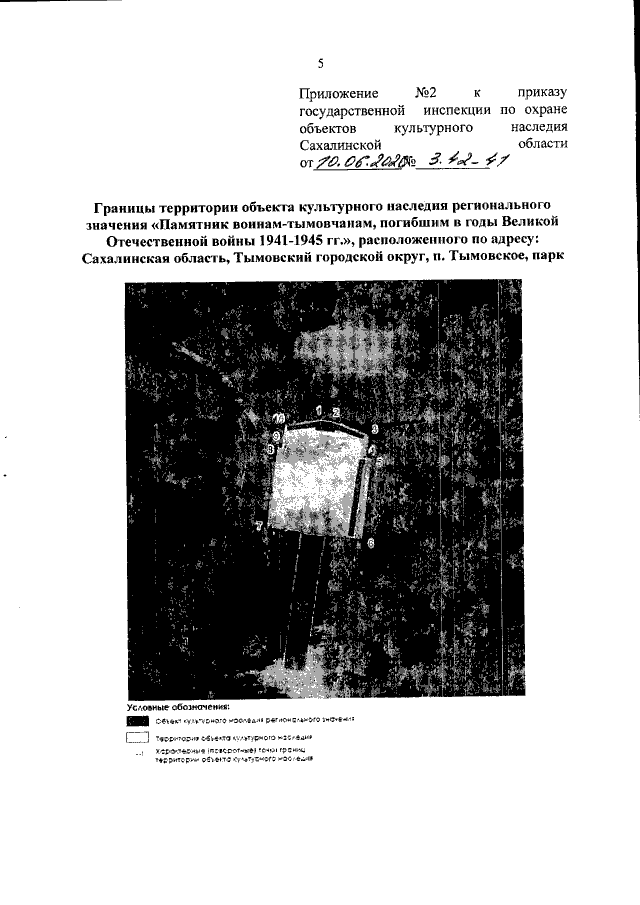
Приказ Государственной инспекции по охране объектов культурного наследия Сахалинской области от 10.06.2020 № 3.42-41
"Об установлении зон охраны, утверждении предмета охраны, границ и режима использования объекта культурного наследия регионального значения "Памятник воинам-тымовчанам, погибшим в годы Великой Отечественной войны 1941-1945 гг.", расположенного по адресу: Сахалинская область, Тымовский городской округ, п. Тымовское, парк"
Номер опубликования: 6501202006170011
Дата опубликования: 17.06.2020
Страница №5 из 12:
Увеличить