Официальное опубликование правовых актов
ОФИЦИАЛЬНОЕ ОПУБЛИКОВАНИЕ
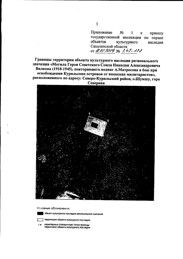
Приказ Государственной инспекции по охране объектов культурного наследия Сахалинской области от 11.10.2019 № 3.42-121
"Об утверждении границ и режима использования территории объекта культурного наследия регионального значения "Могила Героя Советского Союза Николая Александровича Вилкова (1918-1945), повторившего подвиг А.Матросова в бою при освобождении Курильских островов от японских милитаристов", расположенного по адресу: Северо-Курильский район, о.Шумшу, гора Северная"
Номер опубликования: 6501201910140001
Дата опубликования: 14.10.2019
Страница №3 из 6:
Увеличить