Официальное опубликование правовых актов
ОФИЦИАЛЬНОЕ ОПУБЛИКОВАНИЕ
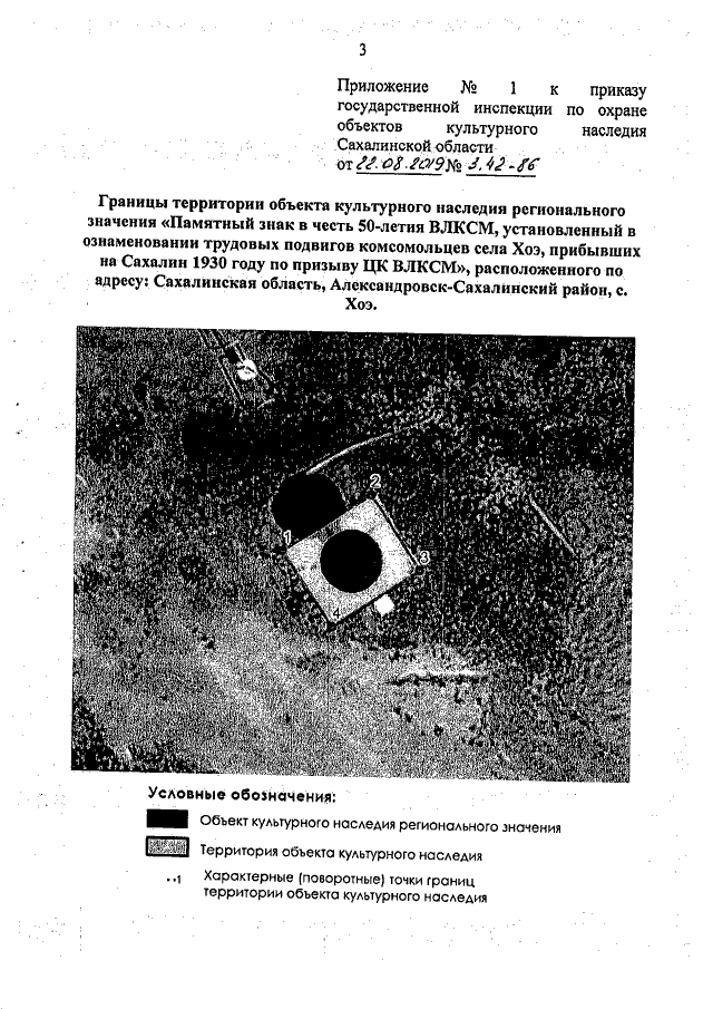
Приказ Государственной инспекции по охране объектов культурного наследия Сахалинской области от 22.08.2019 № 3.42-86
"Об утверждении границ и режима использования территории объекта культурного наследия регионального значения "Памятный знак в честь 50-летия ВЛКСМ, установленный в ознаменовании трудовых подвигов комсомольцев села Хоэ, прибывших на Сахалин 1930 году по призыву ЦК ВЛКСМ", расположенного по адресу: Сахалинская область, Александровск-Сахалинский район, с. Хоэ"
Номер опубликования: 6501201908260015
Дата опубликования: 26.08.2019
Страница №3 из 6:
Увеличить