Официальное опубликование правовых актов
ОФИЦИАЛЬНОЕ ОПУБЛИКОВАНИЕ
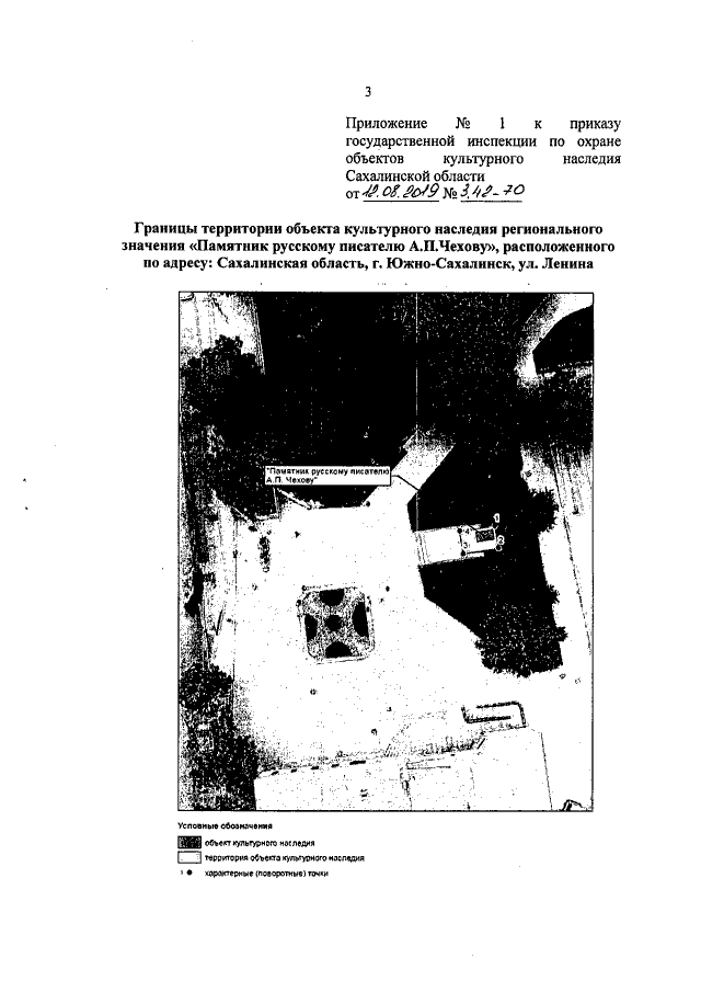
Приказ Государственной инспекции по охране объектов культурного наследия Сахалинской области от 12.08.2019 № 3.42-70
"Об утверждении границ и режима использования территории объекта культурного наследия регионального значения "Памятник русскому писателю А.П. Чехову", расположенного по адресу: Сахалинская область, г. Южно-Сахалинск, ул. Ленина"
Номер опубликования: 6501201908140002
Дата опубликования: 14.08.2019
Страница №3 из 5:
Увеличить