Официальное опубликование правовых актов
ОФИЦИАЛЬНОЕ ОПУБЛИКОВАНИЕ
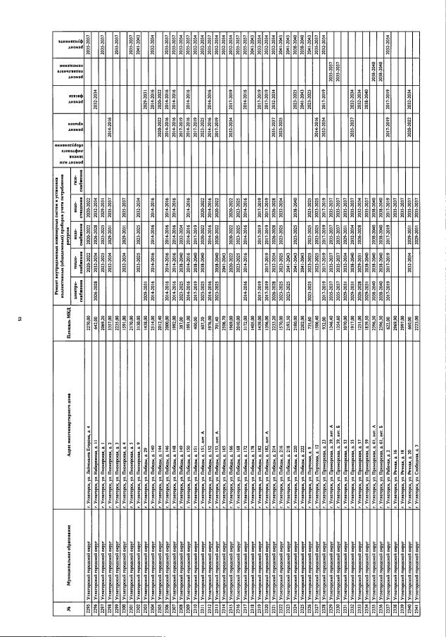
Постановление Правительства Сахалинской области от 19.12.2022 № 593
"О внесении изменений в региональную программу "Капитальный ремонт общего имущества в многоквартирных домах, расположенных на территории Сахалинской области, на 2014 - 2043 годы", утвержденную постановлением Правительства Сахалинской области от 28.04.2014 № 199"
Номер опубликования: 6500202212210001
Дата опубликования: 21.12.2022
Страница №55 из 121:
Увеличить