Официальное опубликование правовых актов
ОФИЦИАЛЬНОЕ ОПУБЛИКОВАНИЕ
Постановление Правительства Сахалинской области от 25.08.2020 № 403
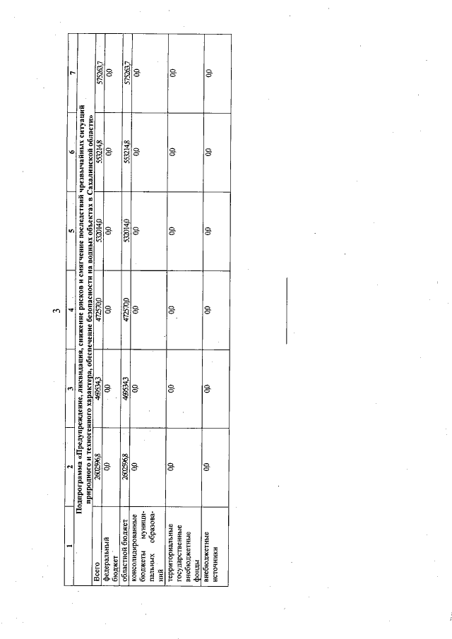
"О внесении изменений в государственную программу Сахалинской области "Защита населения и территории Сахалинской области от чрезвычайных ситуаций природного и техногенного характера, обеспечение пожарной безопасности и безопасности людей на водных объектах", утвержденную постановлением Правительства Сахалинской области от 23.07.2013 № 366"
Номер опубликования: 6500202008280005
Дата опубликования: 28.08.2020
Страница №50 из 50:
Увеличить