Официальное опубликование правовых актов
ОФИЦИАЛЬНОЕ ОПУБЛИКОВАНИЕ
Постановление Правительства Сахалинской области от 23.03.2020 № 132
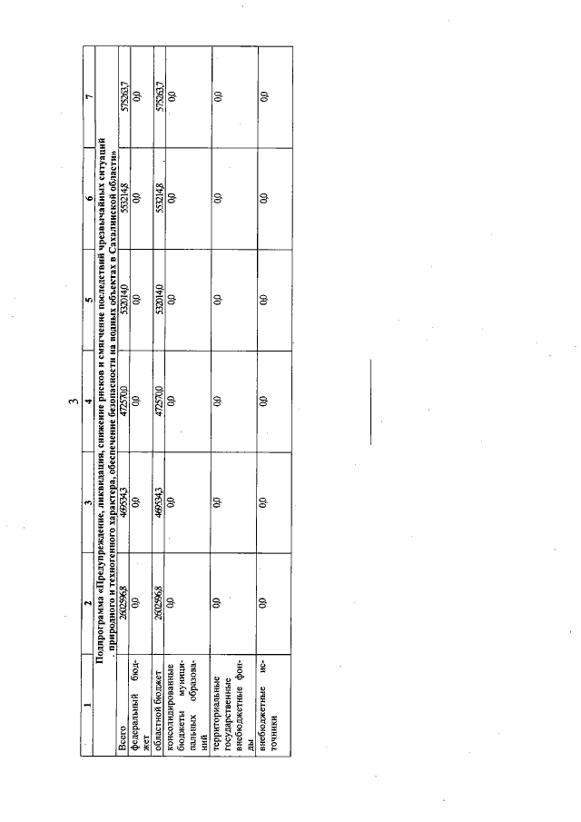
"О внесении изменений в государственную программу Сахалинской области "Защита населения и территории Сахалинской области от чрезвычайных ситуаций природного и техногенного характера, обеспечение пожарной безопасности и безопасности людей на водных объектах", утвержденную постановлением Правительства Сахалинской области от 23.07.2013 № 366"
Номер опубликования: 6500202003250009
Дата опубликования: 25.03.2020
Страница №54 из 54:
Увеличить