Официальное опубликование правовых актов
ОФИЦИАЛЬНОЕ ОПУБЛИКОВАНИЕ
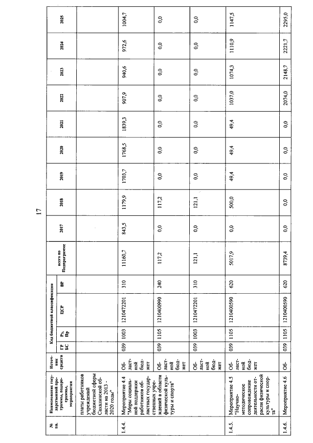
Постановление Правительства Сахалинской области от 04.04.2019 № 151
"О внесении изменений в государственную программу Сахалинской области "Развитие физической культуры, спорта и повышение эффективности молодежной политики в Сахалинской области"
Номер опубликования: 6500201904090009
Дата опубликования: 09.04.2019
Страница №110 из 135:
Увеличить