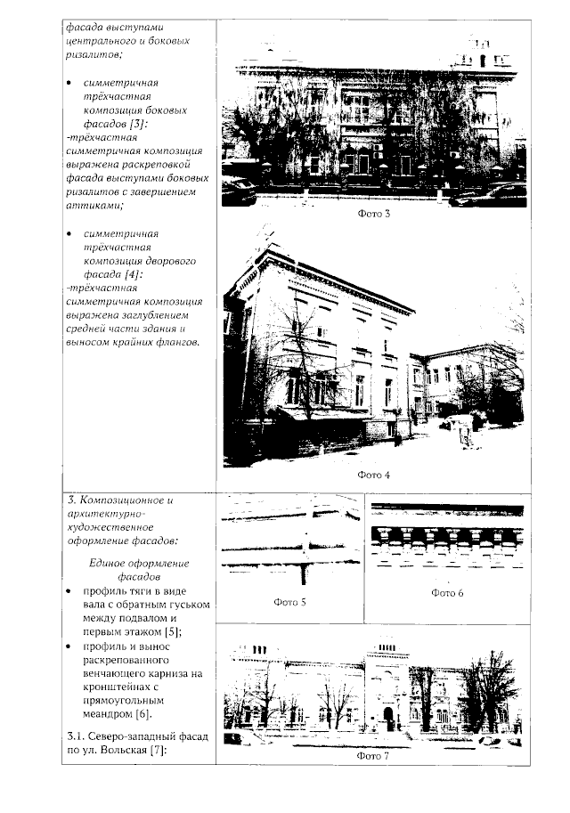
Приказ Комитета культурного наследия Саратовской области от 24.07.2023 № 01-04/282
"Об утверждении предмета охраны объекта культурного наследия регионального значения, расположенного по адресу: Саратовская область, г. Саратов, ул. Вольская, 12"
(Зарегистрирован 28.07.2023 № 25-2023-1-1044)
"Об утверждении предмета охраны объекта культурного наследия регионального значения, расположенного по адресу: Саратовская область, г. Саратов, ул. Вольская, 12"
(Зарегистрирован 28.07.2023 № 25-2023-1-1044)
Номер опубликования: 6401202308020006
Дата опубликования:
02.08.2023
