Официальное опубликование правовых актов
ОФИЦИАЛЬНОЕ ОПУБЛИКОВАНИЕ
Приказ Комитета культурного наследия Саратовской области от 27.04.2023 № 01-04/171
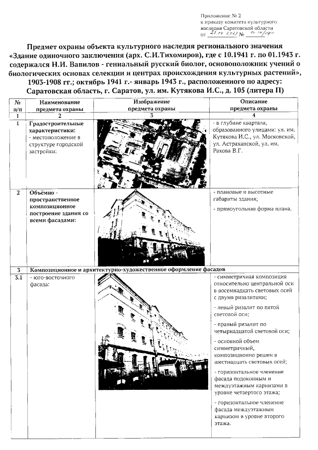
"О включении выявленного объекта культурного наследия по адресу: Саратовская область, г. Саратов, ул. им. Кутякова И.С., д. 105 (литера П), в единый государственный реестр объектов культурного наследия (памятников истории и культуры) народов Российской Федерации в категории объекта культурного наследия регионального значения, утверждении границ территории, требований к осуществлению деятельности в границах территории объекта культурного наследия и предмета охраны"
(Зарегистрирован 02.05.2023 № 25-2023-1-546)
Номер опубликования: 6401202305050010
Дата опубликования: 05.05.2023
Страница №6 из 13:
Увеличить