Официальное опубликование правовых актов
ОФИЦИАЛЬНОЕ ОПУБЛИКОВАНИЕ
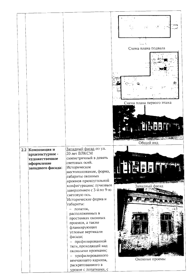
Приказ Комитета культурного наследия Саратовской области от 27.04.2023 № 01-04/172
"О включении выявленного объекта культурного наследия по адресу: Саратовская область, г. Балаково, ул. Чернышевского, д. 30 (ул. 20 лет ВЛКСМ, 25), в единый государственный реестр объектов культурного наследия (памятников истории и культуры) народов Российской Федерации в категории объекта культурного наследия местного (муниципального) значения, утверждении границ территории, требований к осуществлению деятельности в границах территории объекта культурного наследия и предмета охраны"
(Зарегистрирован 02.05.2023 № 25-2023-1-547)
Номер опубликования: 6401202305050007
Дата опубликования: 05.05.2023
Страница №7 из 9:
Увеличить