Официальное опубликование правовых актов
ОФИЦИАЛЬНОЕ ОПУБЛИКОВАНИЕ
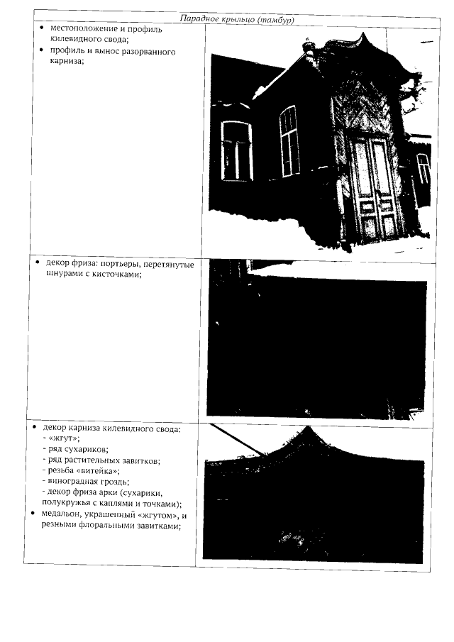
Приказ Комитета культурного наследия Саратовской области от 13.01.2023 № 01-04/14
"Об утверждении предмета охраны объекта культурного наследия регионального значения, расположенного по адресу: Саратовская область, г. Балашов, ул. Советская, 174"
Номер опубликования: 6401202301190006
Дата опубликования: 19.01.2023
Страница №7 из 27:
Увеличить