Приказ Комитета культурного наследия Саратовской области от 13.01.2023 № 01-04/12
"О включении выявленного объекта культурного наследия по адресу: Саратовская область, г. Саратов, ул. Челюскинцев, 133, в единый государственный реестр объектов культурного наследия (памятников истории и культуры) народов Российской Федерации в категории объекта культурного наследия местного (муниципального) значения, утверждении границ территории, требований к осуществлению деятельности в границах территории объекта культурного наследия и предмета охраны"
"О включении выявленного объекта культурного наследия по адресу: Саратовская область, г. Саратов, ул. Челюскинцев, 133, в единый государственный реестр объектов культурного наследия (памятников истории и культуры) народов Российской Федерации в категории объекта культурного наследия местного (муниципального) значения, утверждении границ территории, требований к осуществлению деятельности в границах территории объекта культурного наследия и предмета охраны"
Номер опубликования: 6401202301180016
Дата опубликования:
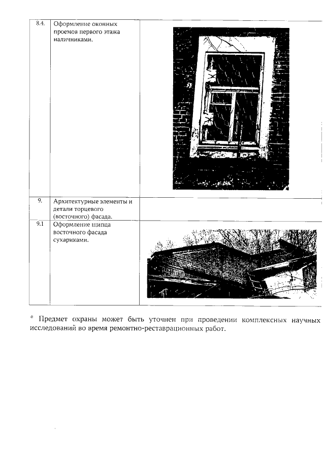
18.01.2023
