Официальное опубликование правовых актов
ОФИЦИАЛЬНОЕ ОПУБЛИКОВАНИЕ
Приказ Комитета культурного наследия Саратовской области от 21.10.2022 № 01-04/248
"О включении выявленного объекта культурного наследия по адресу: Саратовская область, г. Саратов, ул. Первомайская, 52, в единый государственный реестр объектов культурного наследия (памятников истории и культуры) народов Российской Федерации в категории объекта культурного наследия регионального значения, утверждении границ территории, требований к осуществлению деятельности в границах территории объекта культурного наследия и предмета охраны"
Номер опубликования: 6401202210270014
Дата опубликования: 27.10.2022
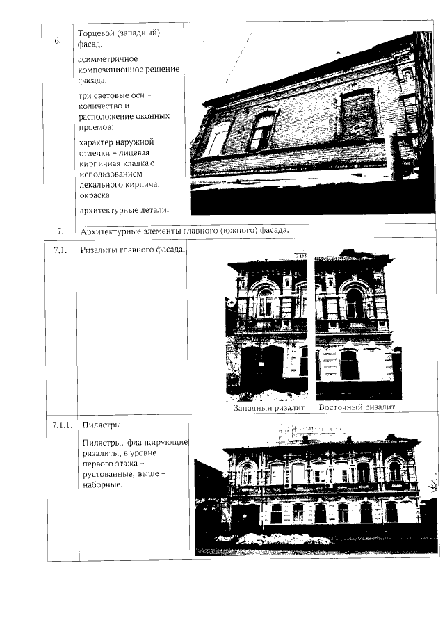
Страница №9 из 14:
Увеличить