Официальное опубликование правовых актов
ОФИЦИАЛЬНОЕ ОПУБЛИКОВАНИЕ
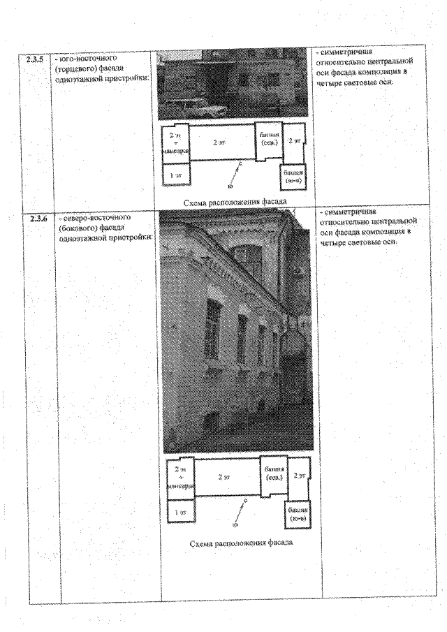
Приказ Управления по охране объектов культурного наследия Саратовской области от 10.01.2022 № 01-04/1
"О включении выявленного объекта культурного наследия по адресу: Саратовская область, г. Саратов, ул. Университетская, 109, в единый государственный реестр объектов культурного наследия (памятников истории и культуры) народов Российской Федерации в категории объекта культурного наследия регионального значения, утверждении границ территории, требований к осуществлению деятельности в границах территории объекта культурного наследия и предмета охраны"
Номер опубликования: 6401202201130005
Дата опубликования: 13.01.2022
Страница №11 из 50:
Увеличить