Официальное опубликование правовых актов
ОФИЦИАЛЬНОЕ ОПУБЛИКОВАНИЕ
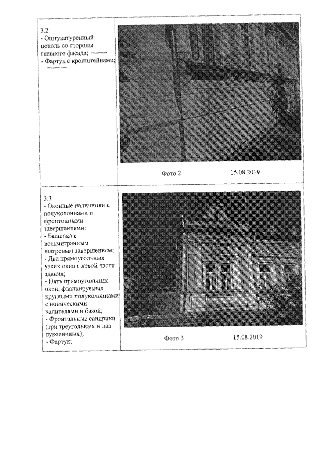
Приказ Управления по охране объектов культурного наследия Саратовской области от 30.10.2019 № 01-04/156
"Об утверждении предмета охраны объекта культурного наследия регионального значения, расположенного по адресу: г. Саратов, ул. Сакко и Ванцетти, 44."
Номер опубликования: 6401201911050004
Дата опубликования: 05.11.2019
Страница №6 из 15:
Увеличить