Официальное опубликование правовых актов
ОФИЦИАЛЬНОЕ ОПУБЛИКОВАНИЕ
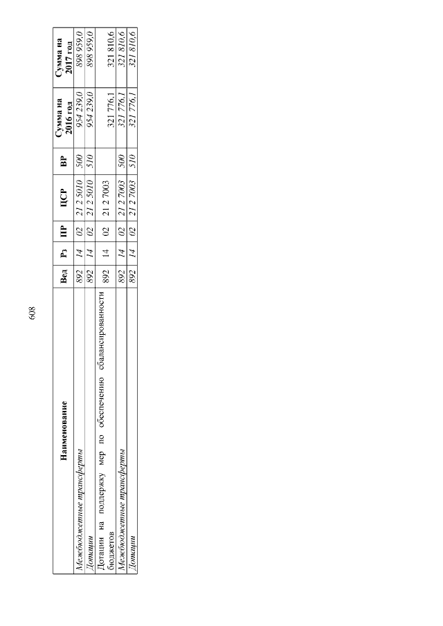
Закон Пензенской области от 16.04.2015 № 2701-ЗПО
"О внесении изменений в Закон Пензенской области "О бюджете Пензенской области на 2015 год и на плановый период 2016 и 2017 годов"
Номер опубликования: 5800201504170001
Дата опубликования: 17.04.2015
Страница №608 из 870:
Увеличить