Официальное опубликование правовых актов
ОФИЦИАЛЬНОЕ ОПУБЛИКОВАНИЕ
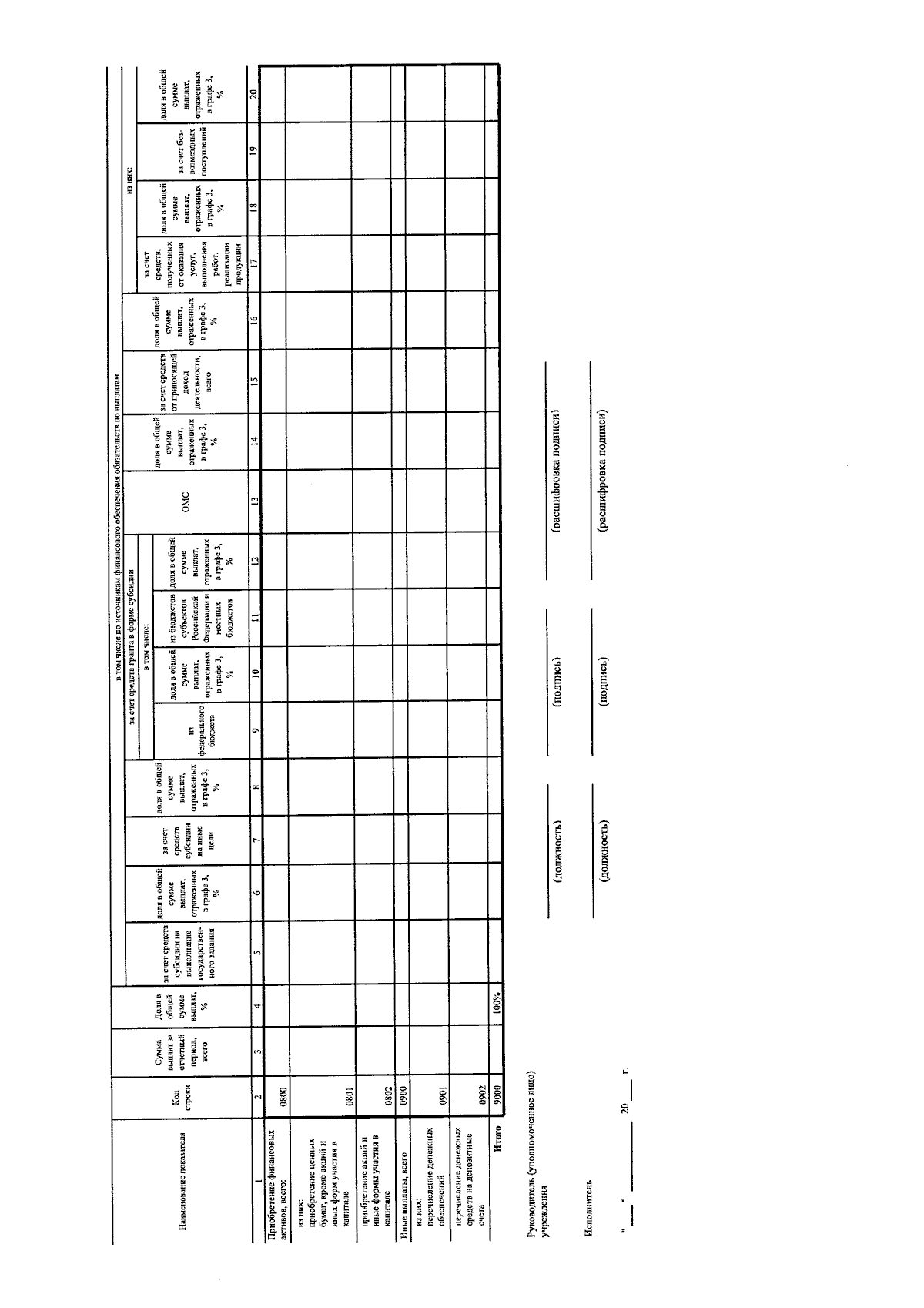
Приказ Департамента информационно-аналитической работы Орловской области от 20.01.2025 № 2
"Об утверждении Порядка составления и утверждения отчета о результатах деятельности государственных учреждений Орловской области, подведомственных Департаменту информационно-аналитической работы Орловской области, и об использовании закрепленного за ними государственного имущества Орловской области"
(Зарегистрирован 20.01.2025 № 13/2025)
Номер опубликования: 5701202501210002
Дата опубликования: 21.01.2025
Страница №18 из 46:
Увеличить