Официальное опубликование правовых актов
ОФИЦИАЛЬНОЕ ОПУБЛИКОВАНИЕ
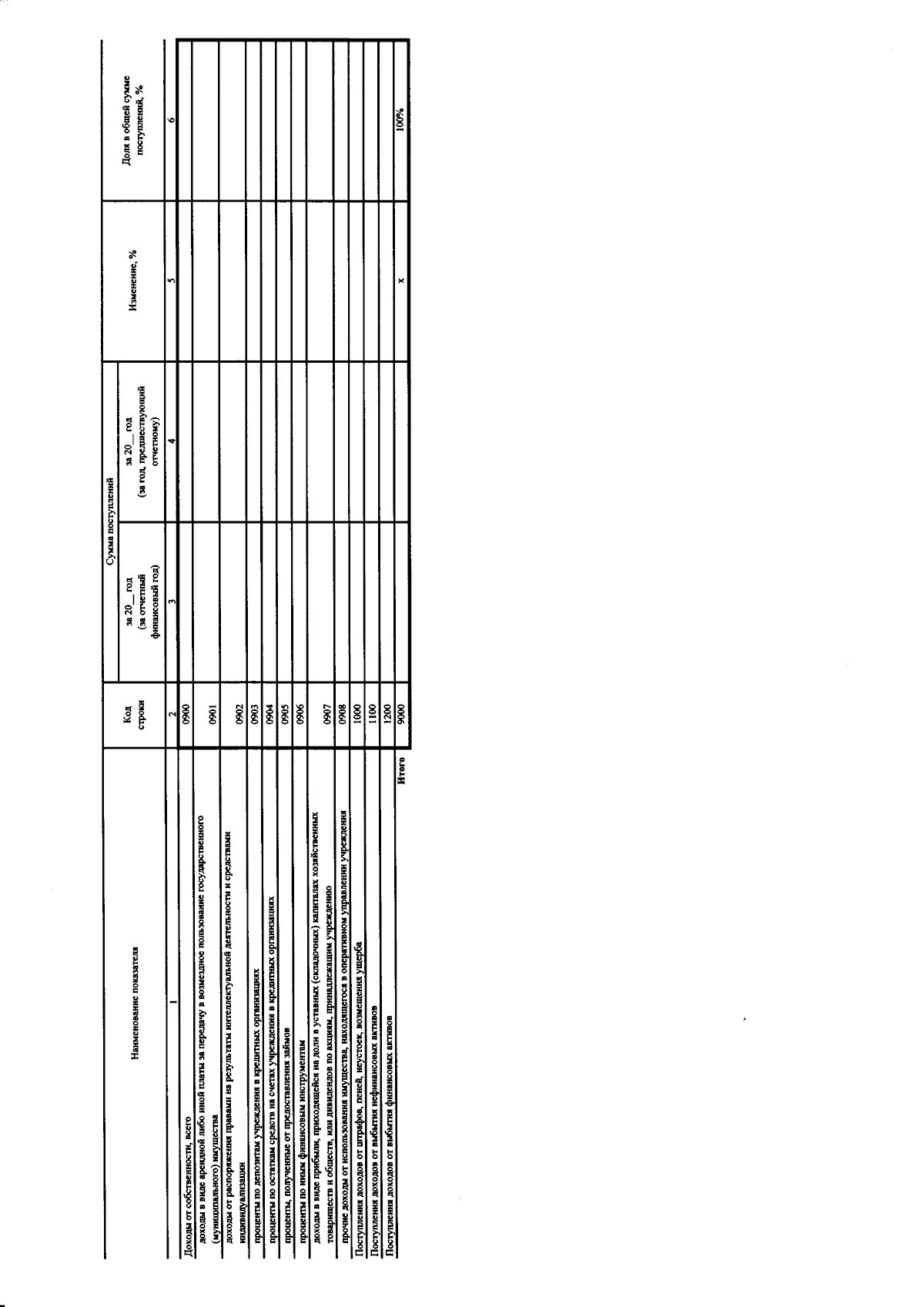
Приказ Департамента государственного имущества и земельных отношений Орловской области от 15.11.2024 № 1073
"Об утверждении Порядка составления и утверждения отчета о результатах деятельности государственных учреждений Орловской области, подведомственных Департаменту государственного имущества и земельных отношений Орловской области, и об использовании закрепленного за ними государственного имущества Орловской области"
(Зарегистрирован 19.11.2024 № 614/2024)
Номер опубликования: 5701202411200007
Дата опубликования: 20.11.2024
Страница №14 из 43:
Увеличить