Официальное опубликование правовых актов
ОФИЦИАЛЬНОЕ ОПУБЛИКОВАНИЕ
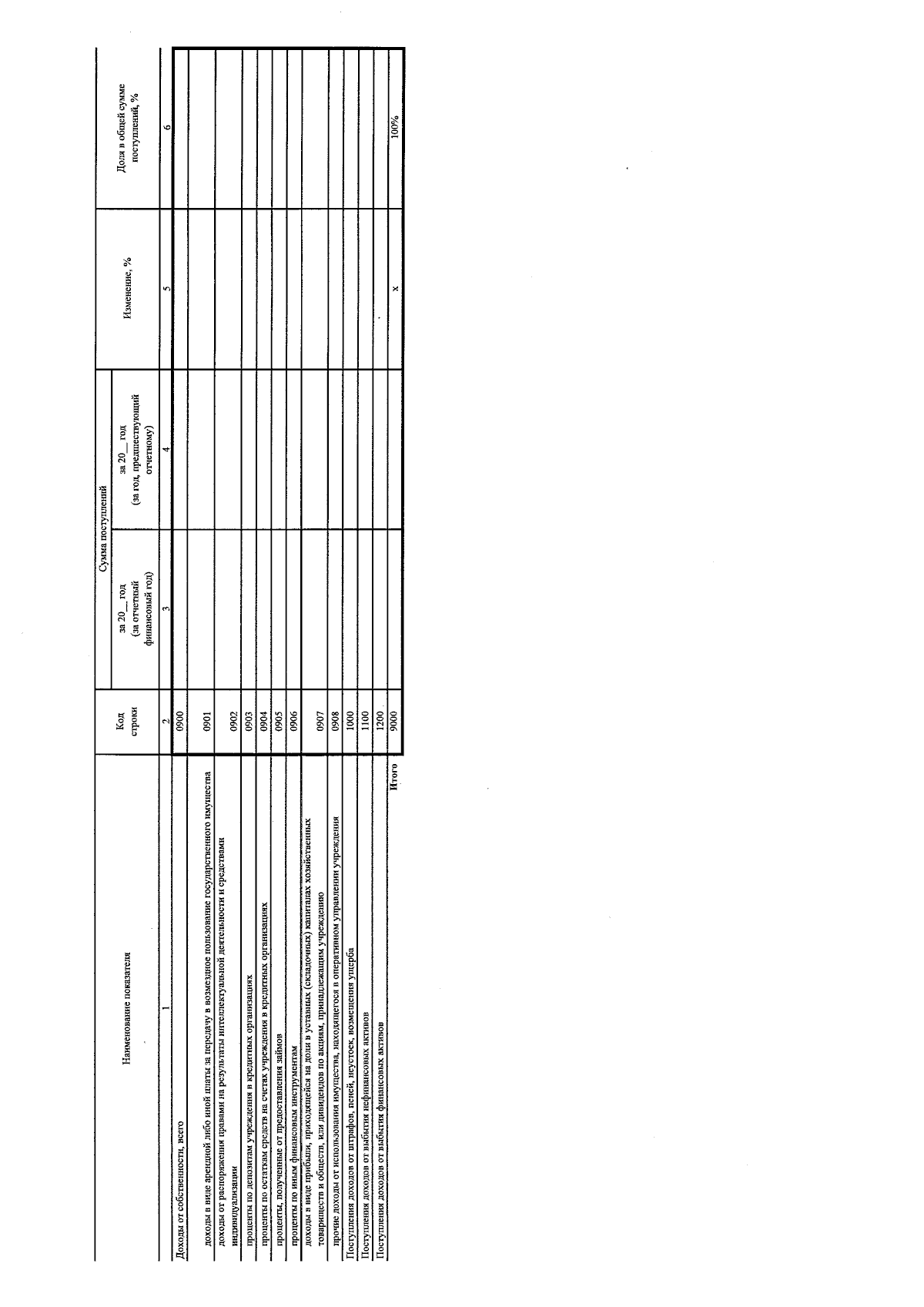
Приказ Администрации Губернатора и Правительства Орловской области от 22.12.2023 № 632
"Об утверждении порядка составления и утверждения отчета о результатах деятельности государственных учреждений Орловской области, подведомственных Администрации Губернатора и Правительства Орловской области, и об использовании закрепленного за ними государственного имущества Орловской области"
(Зарегистрирован 26.12.2023 № 833/2023)
Номер опубликования: 5701202312290006
Дата опубликования: 29.12.2023
Страница №16 из 46:
Увеличить