Официальное опубликование правовых актов
ОФИЦИАЛЬНОЕ ОПУБЛИКОВАНИЕ
Приказ Департамента надзорной и контрольной деятельности Орловской области от 12.08.2021 № 1737
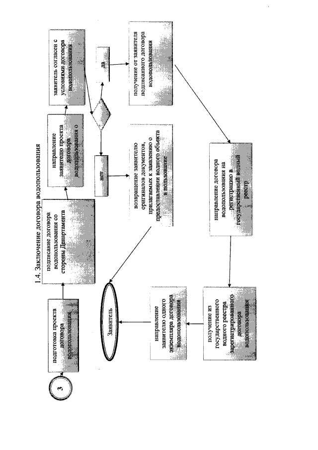
"О внесении изменения в приказ Департамента надзорной и контрольной деятельности Орловской области от 18 марта 2021 года № 583 "Об утверждении Административного регламента предоставления Департаментом надзорной и контрольной деятельности Орловской области государственной услуги по предоставлению водных объектов или их частей, находящихся в собственности Орловской области, в пользование на основании договора водопользования"
(Зарегистрирован 16.08.2021 № 379/2021)
Номер опубликования: 5701202108180005
Дата опубликования: 18.08.2021
Страница №53 из 81:
Увеличить