Официальное опубликование правовых актов
ОФИЦИАЛЬНОЕ ОПУБЛИКОВАНИЕ
Приказ Департамента социальной защиты, опеки и попечительства, труда и занятости Орловской области от 25.06.2020 № 339
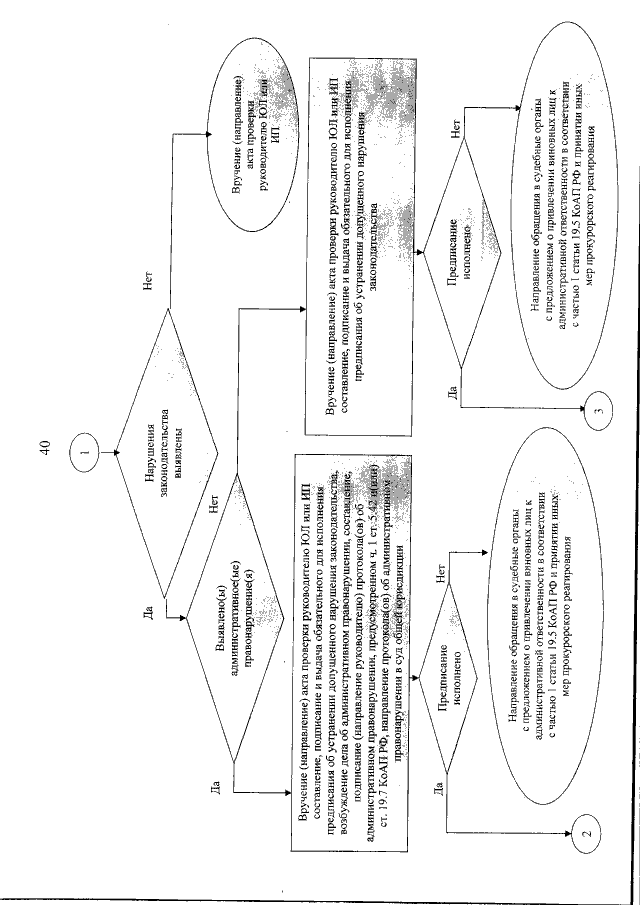
"О внесении изменений в приказ Департамента социальной защиты, опеки и попечительства, труда и занятости Орловской области от 14 мая 2019 года № 156 "Об утверждении административного регламента исполнения Департаментом социальной защиты, опеки и попечительства, труда и занятости Орловской области государственной функции надзора и контроля за приемом на работу инвалидов в пределах установленной квоты с правом проведения проверок, выдачи обязательных для исполнения предписаний и составления протоколов"
(Зарегистрирован 25.06.2020 № 234/2020)
Номер опубликования: 5701202006260001
Дата опубликования: 26.06.2020
Страница №42 из 44:
Увеличить