Официальное опубликование правовых актов
ОФИЦИАЛЬНОЕ ОПУБЛИКОВАНИЕ
Постановление Правительства Орловской области от 30.09.2020 № 606
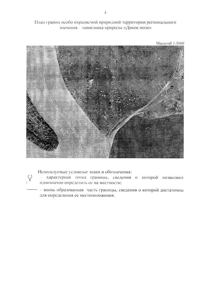
"Об объявлении дикого поля памятником природы регионального значения, а территории, занятой им, – особо охраняемой природной территорией регионального значения"
Номер опубликования: 5700202010010001
Дата опубликования: 01.10.2020
Страница №6 из 8:
Увеличить