Официальное опубликование правовых актов
ОФИЦИАЛЬНОЕ ОПУБЛИКОВАНИЕ
Приказ Инспекции государственной охраны объектов культурного наследия Оренбургской области от 24.06.2025 № 01-33-54
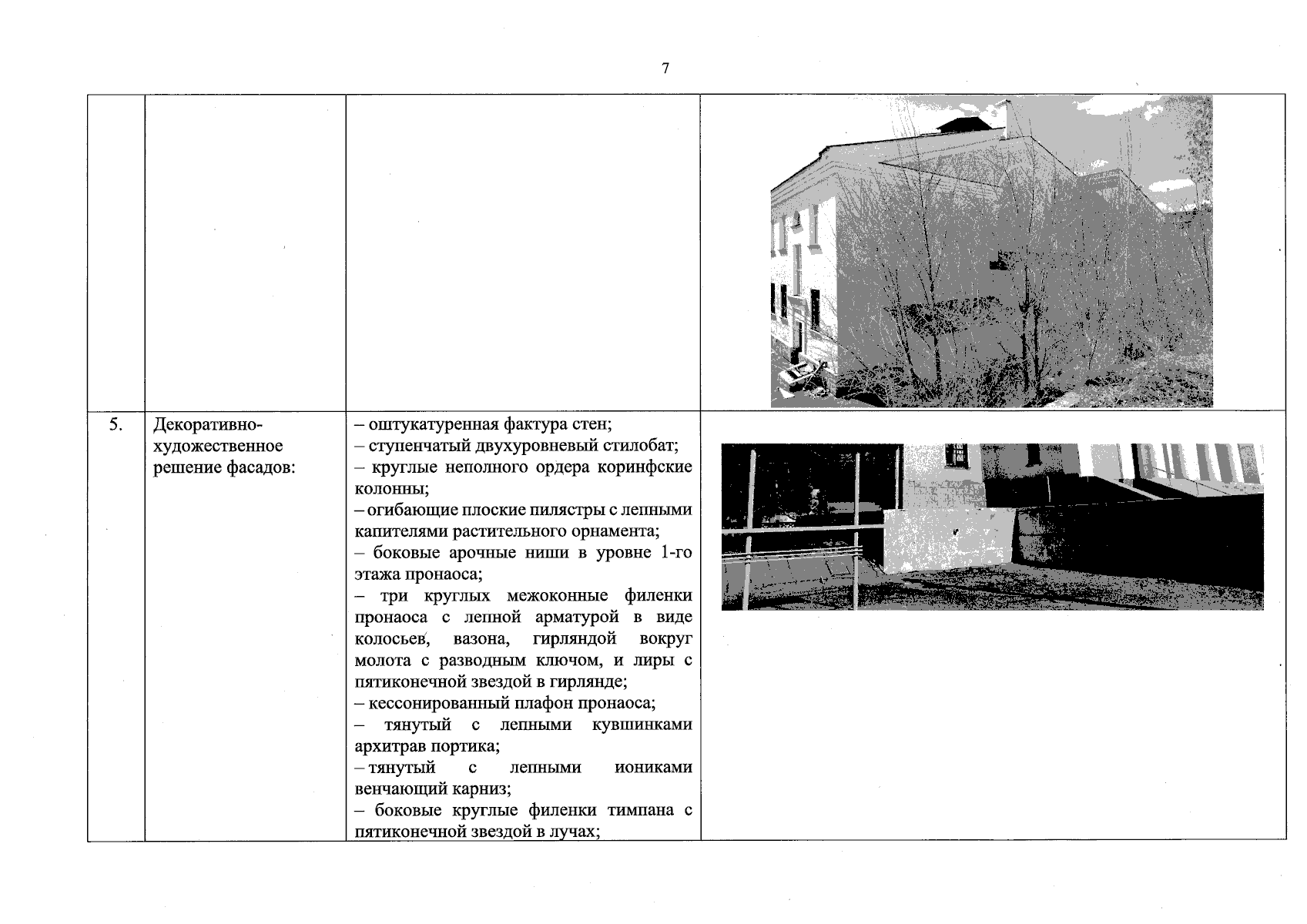
"О включении выявленного объекта культурного наследия в единый государственный реестр объектов культурного наследия (памятников истории и культуры) народов Российской Федерации в качестве объекта культурного наследия регионального значения (вид – памятник) "Дом культуры железнодорожников", 1957 год (Оренбургская область, город Орск, улица Просвещения, дом 46), об утверждении предмета охраны, границ и режима использования территории объекта культурного наследия"
(Зарегистрирован 24.06.2025 № 0070/2025/22)
Номер опубликования: 5601202506250003
Дата опубликования: 25.06.2025
Страница №7 из 27:
Увеличить