Официальное опубликование правовых актов
ОФИЦИАЛЬНОЕ ОПУБЛИКОВАНИЕ
Приказ Инспекции государственной охраны объектов культурного наследия Оренбургской области от 12.12.2024 № 01-08-519
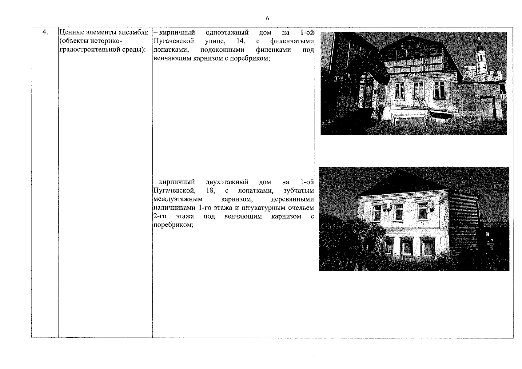
"О включении выявленного объекта культурного наследия в единый государственный реестр объектов культурного наследия (памятников истории и культуры) народов Российской Федерации в качестве объекта культурного наследия регионального значения (вид – ансамбль) "Застройка Уфимской улицы казачьего Форштадта (станицы Оренбургской)", конец XIX – начало XX вв., (Оренбургская область, город Оренбург, улица 1-ая Пугачевская, дом 17 литера Д, дом 19, дом 24, дом 26, дом 30 литера Б, дом 34), об утверждении предмета охраны, границ и режима использования территории объекта культурного наследия"
(Зарегистрирован 12.12.2024 № 0211/2024/22)
Номер опубликования: 5601202412170014
Дата опубликования: 17.12.2024
Страница №6 из 33:
Увеличить