Официальное опубликование правовых актов
ОФИЦИАЛЬНОЕ ОПУБЛИКОВАНИЕ
Приказ Инспекции государственной охраны объектов культурного наследия Оренбургской области от 13.12.2024 № 01-08-525
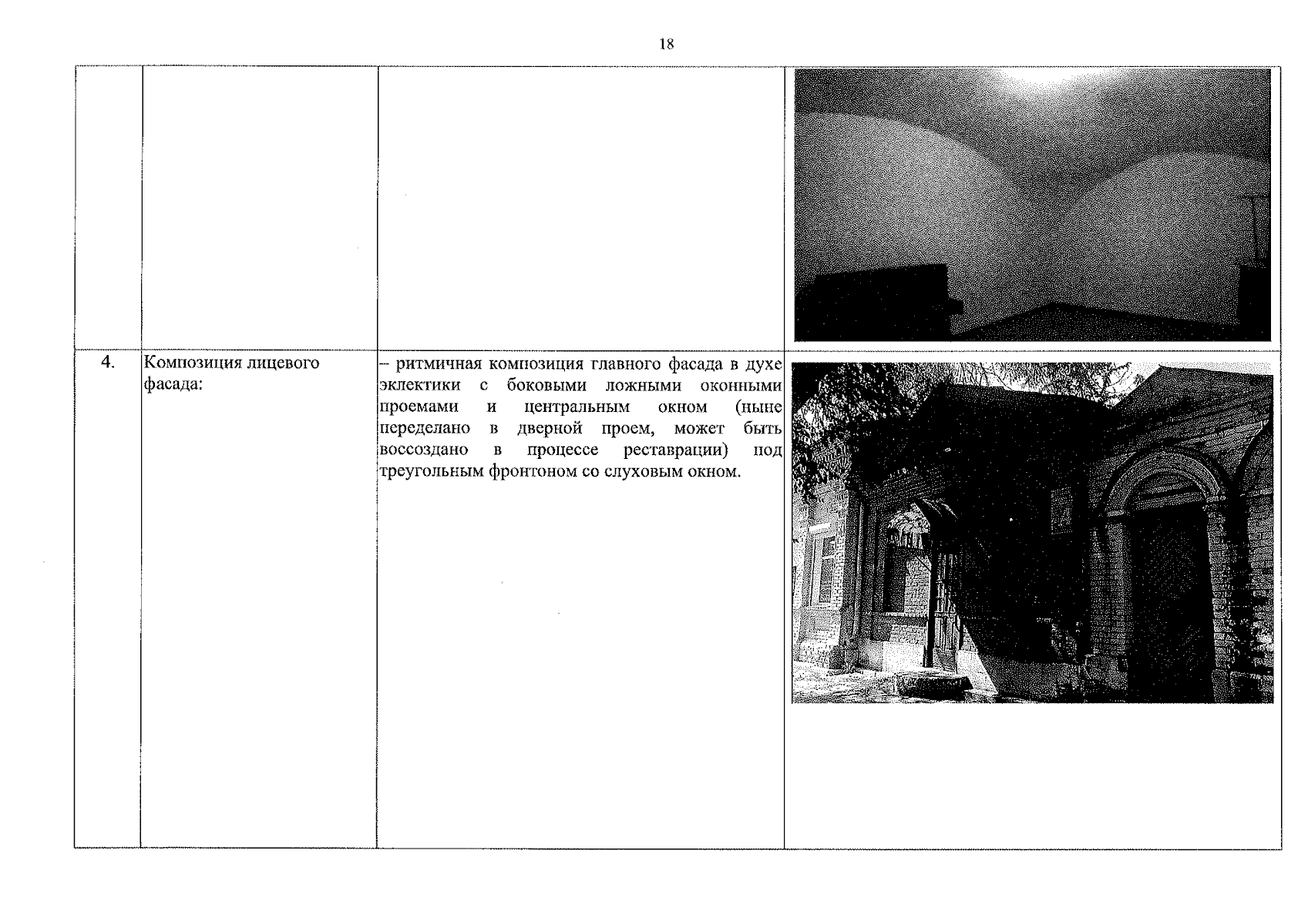
"О включении выявленного объекта культурного наследия в единый государственный реестр объектов культурного наследия (памятников истории и культуры) народов Российской Федерации в качестве объекта культурного наследия регионального значения (вид – ансамбль) "Усадьба городская купцов Веденских (Петровых)", 3-я четверть – конец XIX века (Оренбургская область, город Оренбург, улица Володарского, дом 4/переулок Свободина, дом 5, литеры АА5, А1Б, А3А4, Б1Б2НН1), об утверждении предмета охраны, границ и режима использования территории объекта культурного наследия"
(Зарегистрирован 13.12.2024 № 0215/2024/22)
Номер опубликования: 5601202412130004
Дата опубликования: 13.12.2024
Страница №18 из 31:
Увеличить