Официальное опубликование правовых актов
ОФИЦИАЛЬНОЕ ОПУБЛИКОВАНИЕ
Приказ Инспекции государственной охраны объектов культурного наследия Оренбургской области от 20.02.2024 № 01-08-89
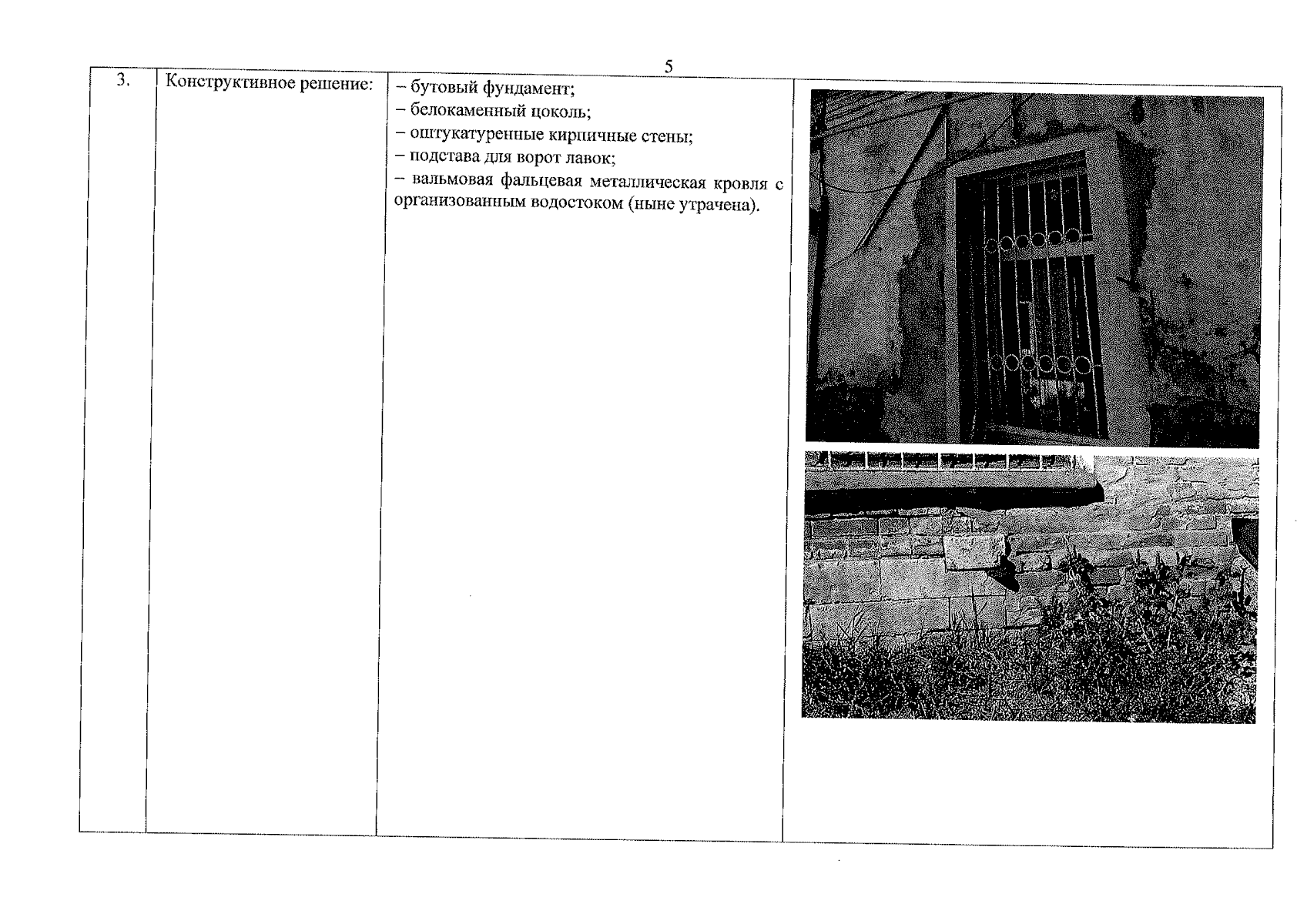
"О включении выявленного объекта культурного наследия в единый государственный реестр объектов культурного наследия (памятников истории и культуры) народов Российской Федерации в качестве объекта культурного наследия регионального значения (вид – памятник) "Дом с лавками купца А.Н. Захо", середина XIX века; 1902 г., (Оренбургская область, г. Оренбург, пер. Рыбный, 4 / пер. Мало-Торговый, 3, восточная часть Литеры А; пер. Мало-Торговый 5 / пер. Рыбный, 6, Литера А), об утверждении предмета охраны, границ и режима использования территории объекта культурного наследия"
(Зарегистрирован 20.02.2024 № 0054/2024/22)
Номер опубликования: 5601202402210011
Дата опубликования: 21.02.2024
Страница №5 из 14:
Увеличить