Официальное опубликование правовых актов
ОФИЦИАЛЬНОЕ ОПУБЛИКОВАНИЕ
Приказ Инспекции государственной охраны объектов культурного наследия Оренбургской области от 19.02.2024 № 01-08-85
"Об утверждении предмета охраны, границ и режима использования территории объекта культурного наследия регионального значения "Мечеть с минаретом", 1898 г. (Оренбургская область, Кувандыкский городской округ, с. Ильинка, ул. Береговая, 3)"
(Зарегистрирован 19.02.2024 № 0051/2024/22)
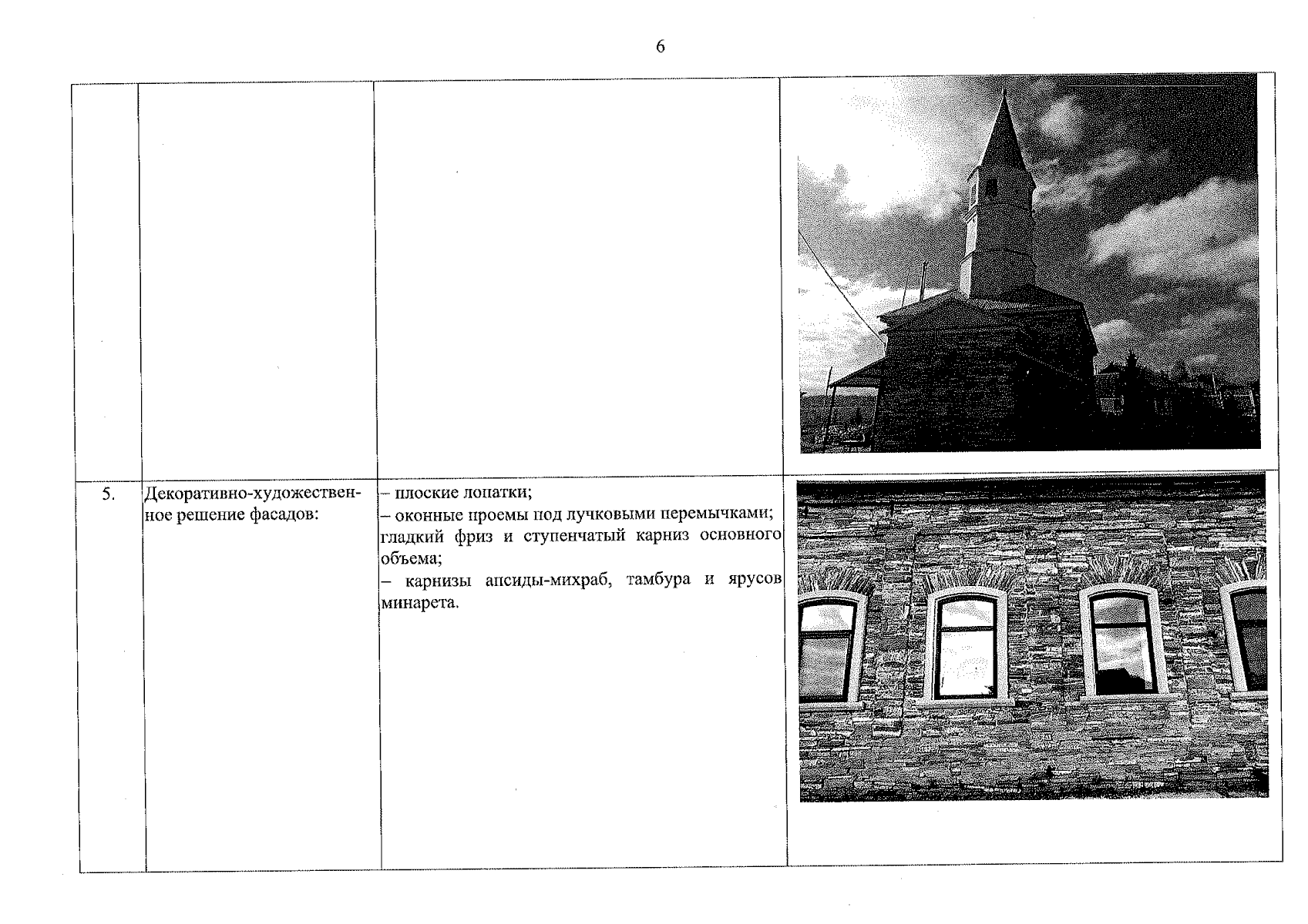
Номер опубликования: 5601202402210009
Дата опубликования: 21.02.2024
Страница №6 из 13:
Увеличить