Официальное опубликование правовых актов
ОФИЦИАЛЬНОЕ ОПУБЛИКОВАНИЕ
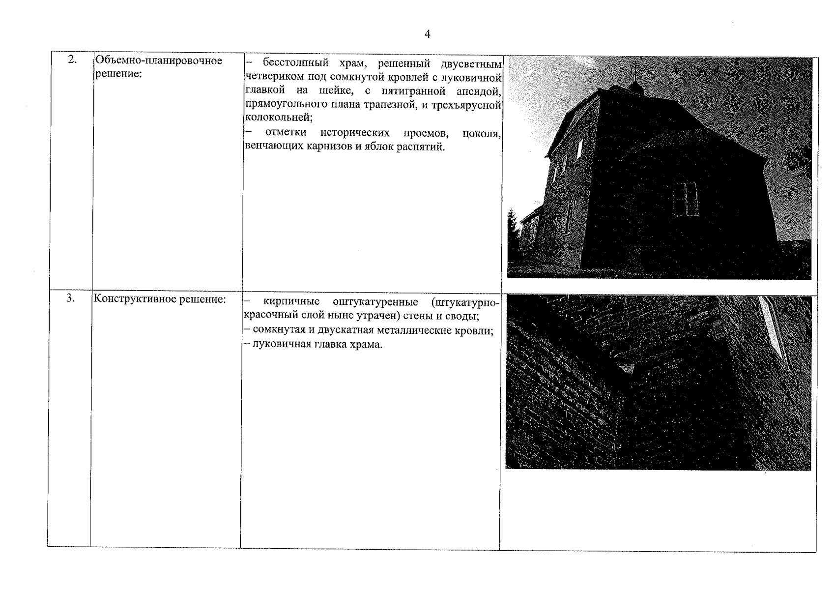
Приказ Инспекции государственной охраны объектов культурного наследия Оренбургской области от 19.02.2024 № 01-08-86
"Об утверждении предмета охраны, границ и режима использования территории объекта культурного наследия регионального значения "Церковь", 1827 г. (Оренбургская обл., Бузулукский район, с. Сухоречка)"
(Зарегистрирован 19.02.2024 № 0052/2024/22)
Номер опубликования: 5601202402210002
Дата опубликования: 21.02.2024
Страница №4 из 12:
Увеличить