Официальное опубликование правовых актов
ОФИЦИАЛЬНОЕ ОПУБЛИКОВАНИЕ
Приказ Инспекции государственной охраны объектов культурного наследия Оренбургской области от 08.02.2024 № 01-08-67
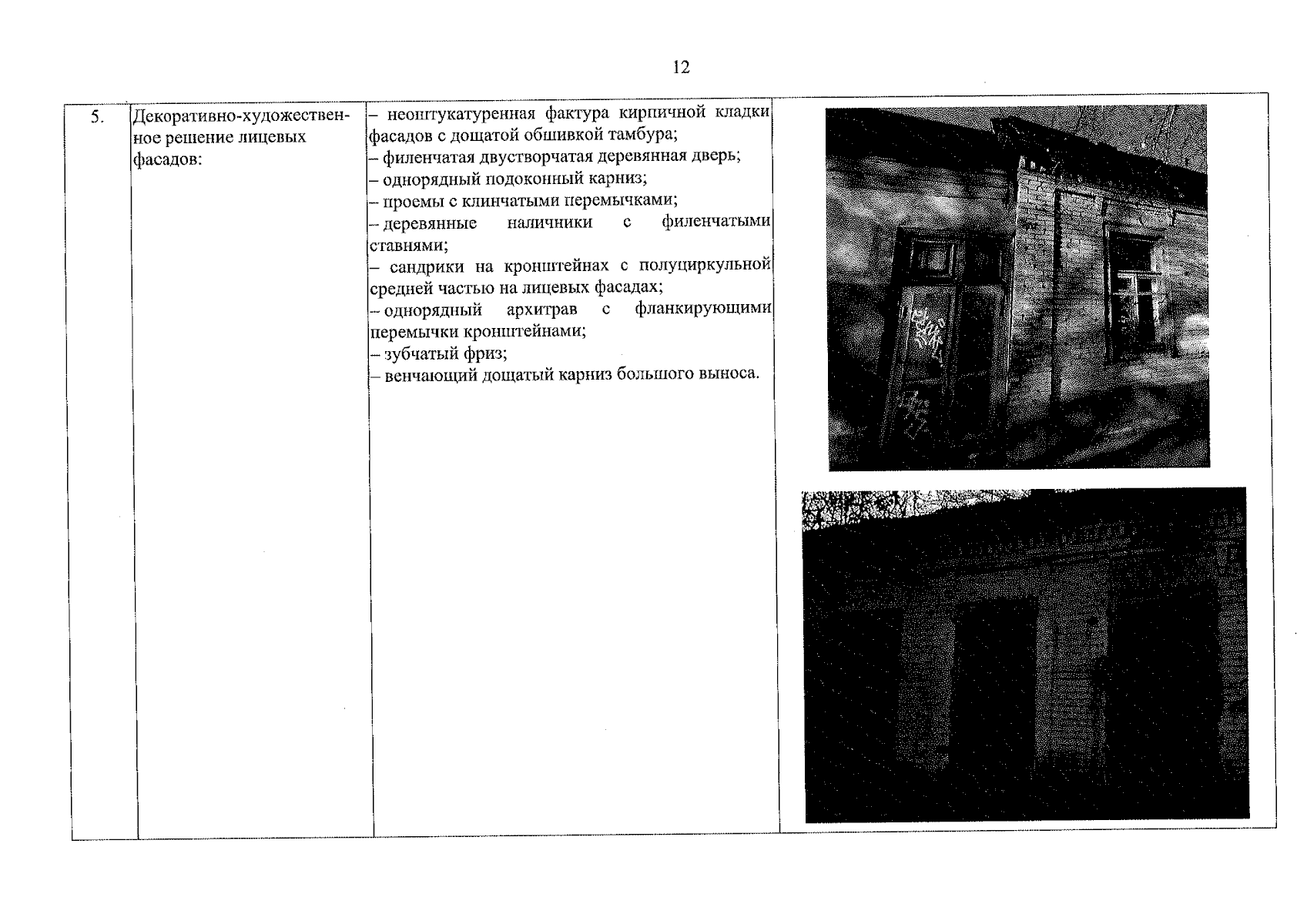
"О включении выявленного объекта культурного наследия в единый государственный реестр объектов культурного наследия (памятников истории и культуры) народов Российской Федерации в качестве объекта культурного наследия регионального значения (вид – ансамбль) "Усадьба городская генерал-майора В.И. Эсмонтова", 1870-е гг. – второе десятилетие XX в., (Оренбургская обл., г. Оренбург, ул. Кирова, 38 / ул. Комсомольская, 20 / ул. Орджоникидзе, 17, Литеры А, А1А3А4, А2), об утверждении предметов охраны, границ и режима использования территории объекта культурного наследия"
(Зарегистрирован 08.02.2024 № 0037/2024/22)
Номер опубликования: 5601202402090008
Дата опубликования: 09.02.2024
Страница №12 из 22:
Увеличить