Официальное опубликование правовых актов
ОФИЦИАЛЬНОЕ ОПУБЛИКОВАНИЕ
Приказ Инспекции государственной охраны объектов культурного наследия Оренбургской области от 08.02.2024 № 01-08-68
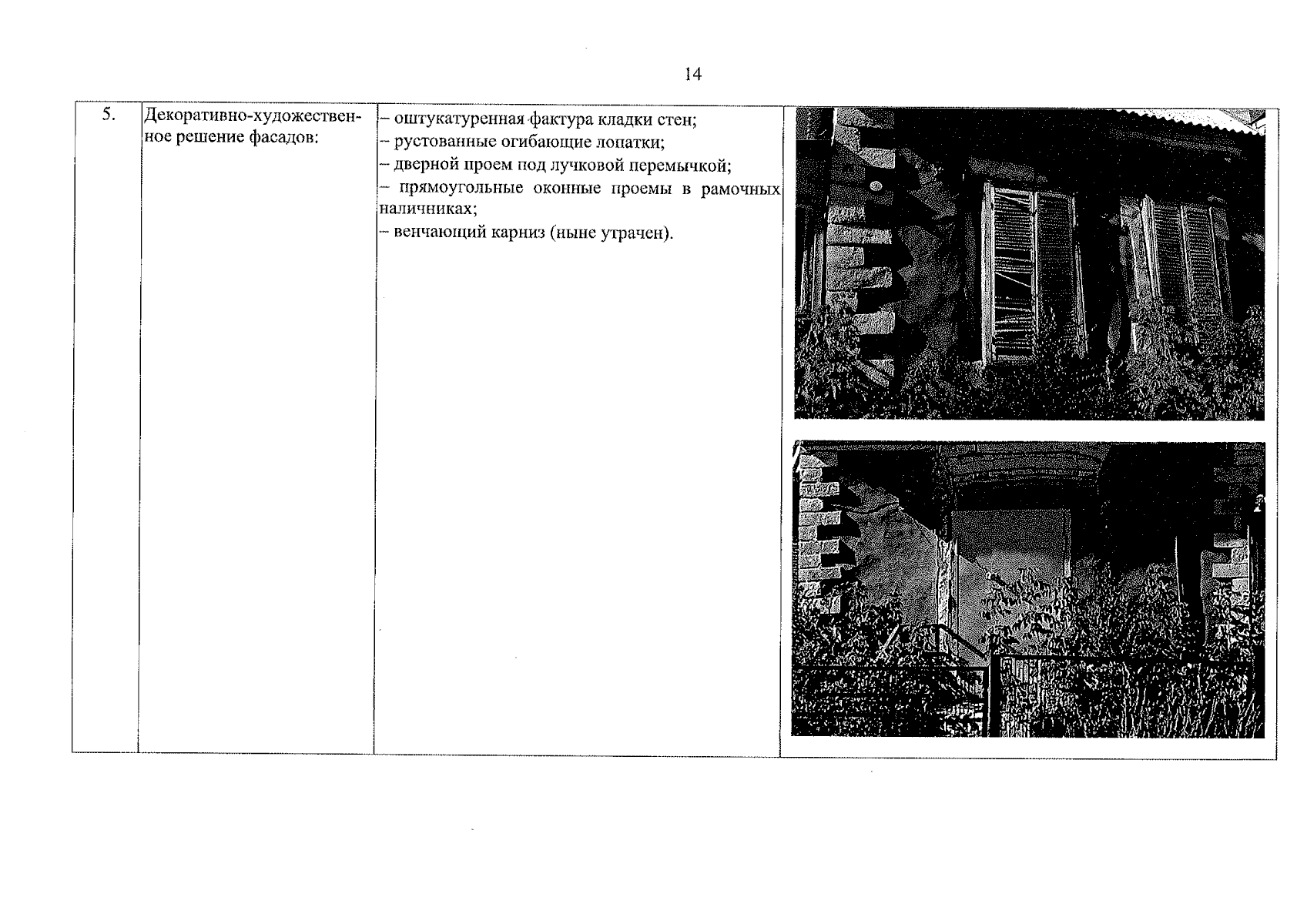
"О включении выявленного объекта культурного наследия в единый государственный реестр объектов культурного наследия (памятников истории и культуры) народов Российской Федерации в качестве объекта культурного наследия регионального значения (вид – ансамбль) "Кумысолечебница Джорджа Каррика "Джанетовка", 1889 год, (Оренбургская область, Сакмарский район, территория сезонного детского санаторного отделения "Джанетовка" ГБУЗ "Оренбургский областной клинический противотуберкулезный диспансер"), об утверждении предметов охраны, границ и режима использования территории объекта культурного наследия"
(Зарегистрирован 08.02.2024 № 0038/2024/22)
Номер опубликования: 5601202402090007
Дата опубликования: 09.02.2024
Страница №14 из 59:
Увеличить