Официальное опубликование правовых актов
ОФИЦИАЛЬНОЕ ОПУБЛИКОВАНИЕ
Приказ Инспекции государственной охраны объектов культурного наследия Оренбургской области от 05.02.2024 № 01-08-59
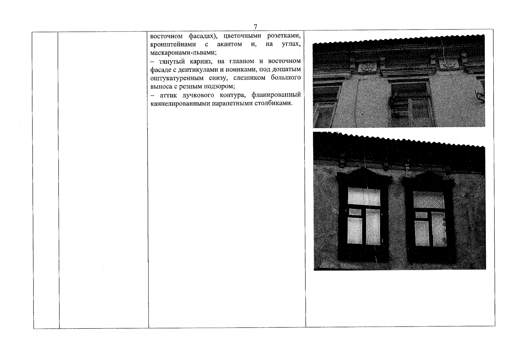
"О включении выявленного объекта культурного наследия в единый государственный реестр объектов культурного наследия (памятников истории и культуры) народов Российской Федерации в качестве объекта культурного наследия регионального значения (вид – памятник) "Дом жилой городской усадьбы купца И.С. Пронозина", 1870-е годы; 1909 год, (Оренбургская обл., г. Оренбург, ул. Ленинская, 9, Литера А), об утверждении предмета охраны, границ и режима использования территории объекта культурного наследия"
(Зарегистрирован 05.02.2024 № 0035/2024/22)
Номер опубликования: 5601202402060001
Дата опубликования: 06.02.2024
Страница №7 из 13:
Увеличить