Официальное опубликование правовых актов
ОФИЦИАЛЬНОЕ ОПУБЛИКОВАНИЕ
Приказ Инспекции государственной охраны объектов культурного наследия Оренбургской области от 11.10.2023 № 01-08-568
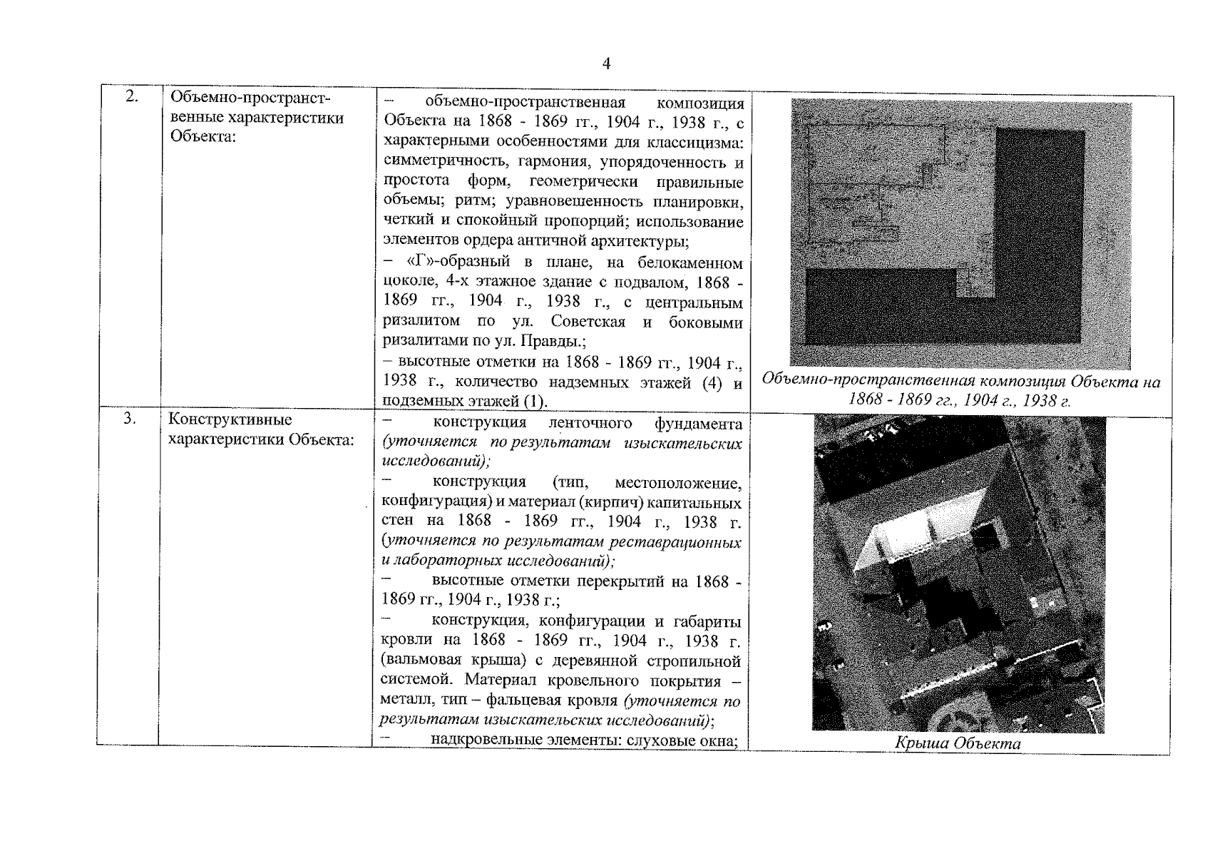
"Об утверждении предмета охраны объекта культурного наследия регионального значения (вид – памятник) "Гимназия мужская", 1868 - 1869 гг., 1904 г., 1938 г., (Оренбургская обл., г. Оренбург, ул. Советская / Правды / Каширина, 19/5/18)"
(Зарегистрирован 11.10.2023 № 0355/2023/22)
Номер опубликования: 5601202310130025
Дата опубликования: 13.10.2023
Страница №4 из 15:
Увеличить