Официальное опубликование правовых актов
ОФИЦИАЛЬНОЕ ОПУБЛИКОВАНИЕ
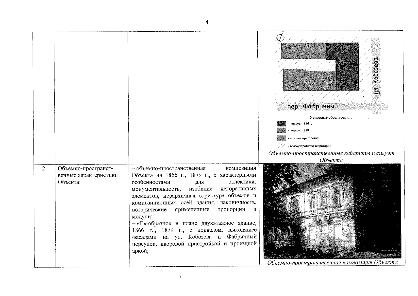
Приказ Инспекции государственной охраны объектов культурного наследия Оренбургской области от 10.10.2023 № 01-08-557
"Об утверждении предмета охраны объекта культурного наследия регионального значения (вид – памятник) "Усадьба городская купца И.Б. Сачкова. Эклектика", 1866 год, 1879 год, (Оренбургская обл., г. Оренбург, пер. Фабричный / ул. Кобозева, 24/11)"
(Зарегистрирован 10.10.2023 № 0346/2023/22)
Номер опубликования: 5601202310130006
Дата опубликования: 13.10.2023
Страница №4 из 16:
Увеличить