Официальное опубликование правовых актов
ОФИЦИАЛЬНОЕ ОПУБЛИКОВАНИЕ
Приказ Инспекции государственной охраны объектов культурного наследия Оренбургской области от 18.09.2023 № 01-08-518
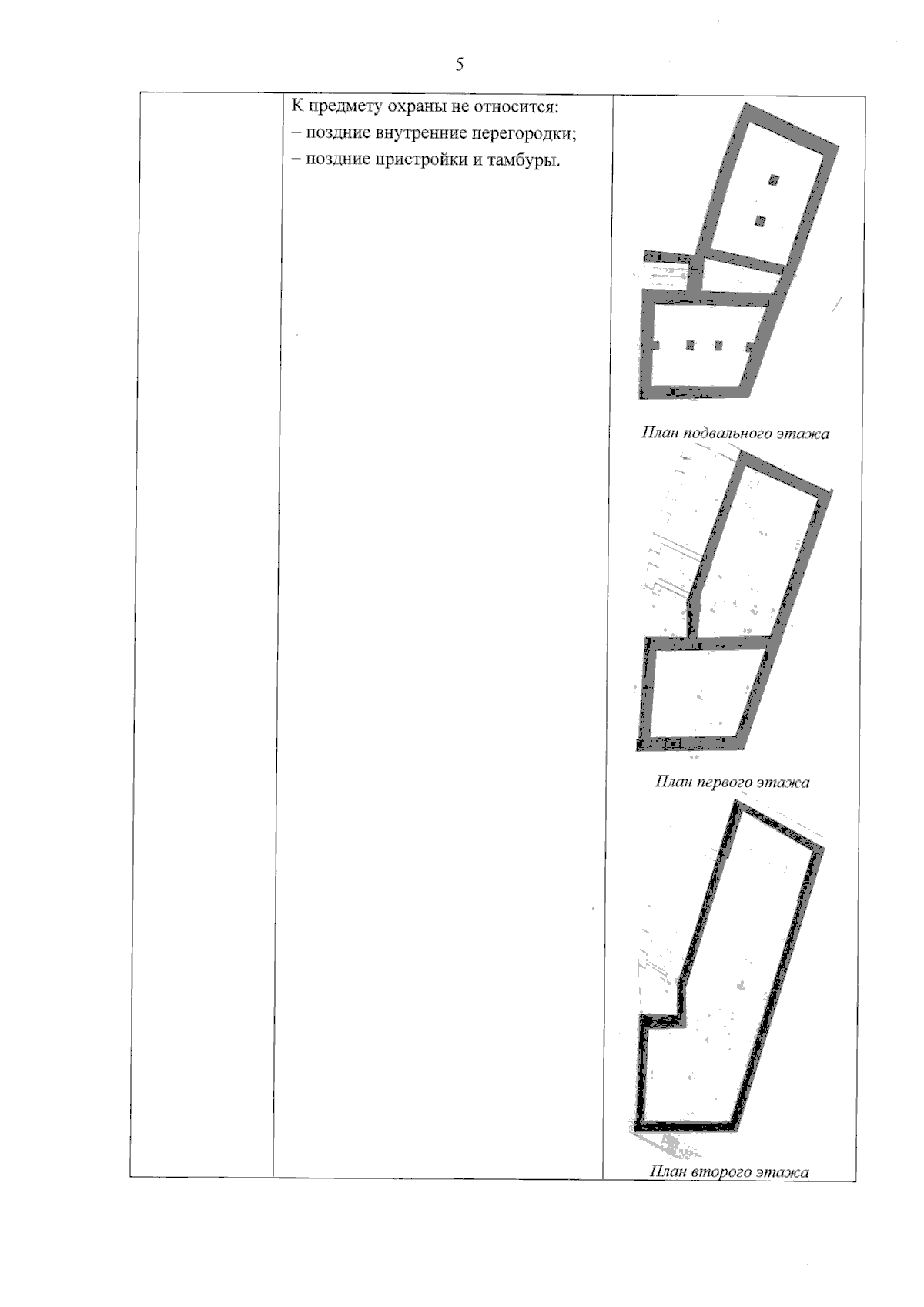
"Об утверждении предмета охраны объекта культурного наследия регионального значения (вид – памятник) "Дом жилой городской усадьбы Кулакова Д.А. Кирпичный стиль", конец XIX – начало ХХ века, (Оренбургская обл., г. Оренбург, пер. Бухарский / ул. Бурзянцева, 8/29)"
(Зарегистрирован 18.09.2023 № 0326/2023/22)
Номер опубликования: 5601202309210014
Дата опубликования: 21.09.2023
Страница №5 из 8:
Увеличить