Официальное опубликование правовых актов
ОФИЦИАЛЬНОЕ ОПУБЛИКОВАНИЕ
Приказ Инспекции государственной охраны объектов культурного наследия Оренбургской области от 21.08.2023 № 01-08-462
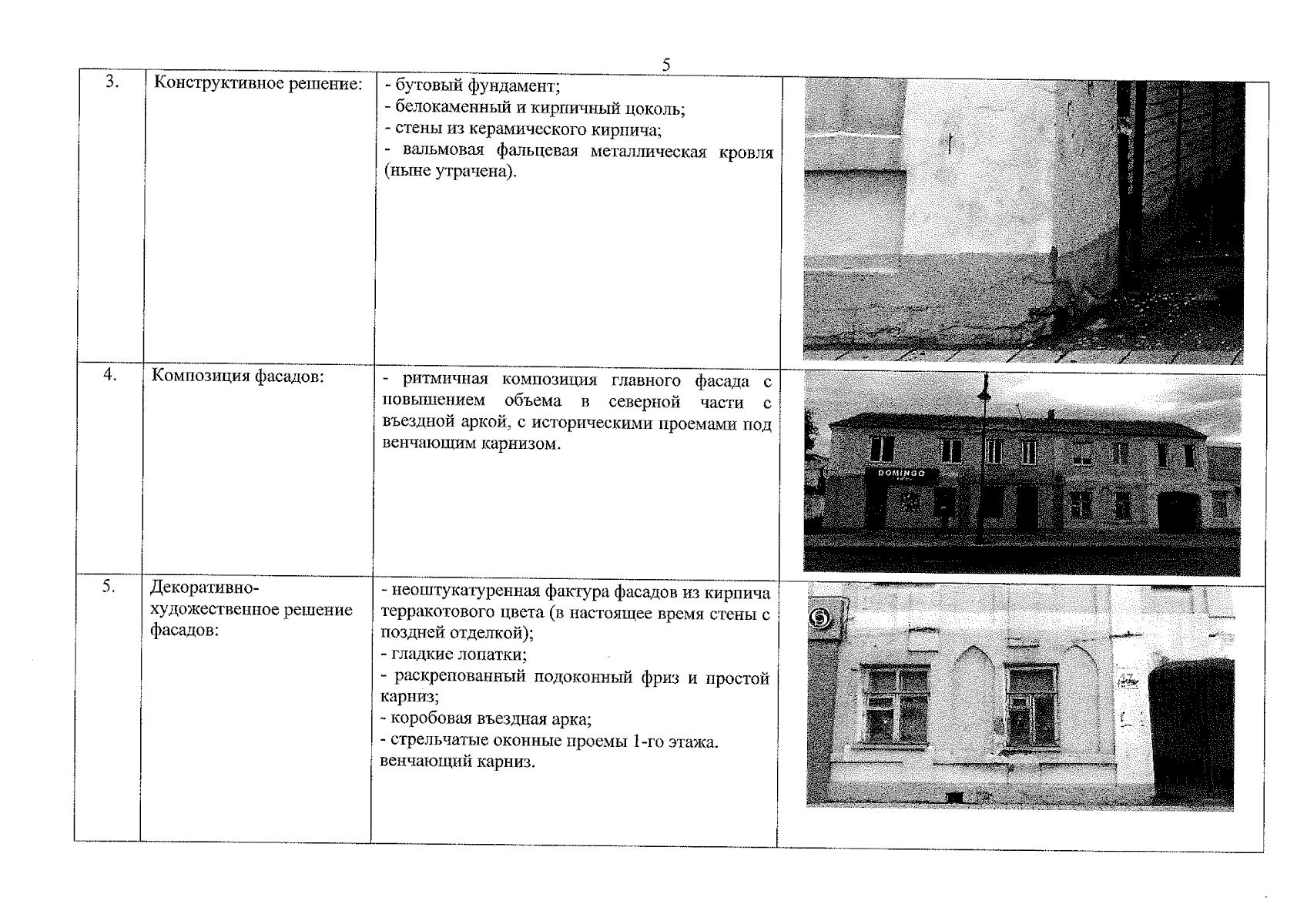
"О включении выявленного объекта культурного наследия в единый государственный реестр объектов культурного наследия (памятников истории и культуры) народов Российской Федерации, об утверждении предмета охраны, границ и режима использования территории объекта культурного наследия"
Номер опубликования: 5601202308230002
Дата опубликования: 23.08.2023
Страница №5 из 10:
Увеличить